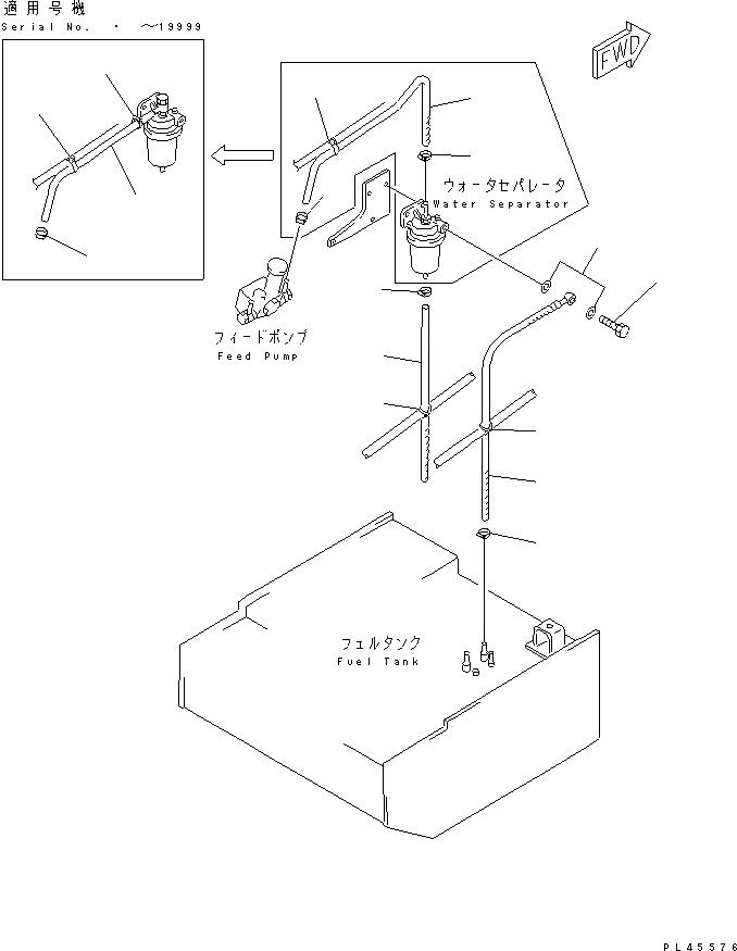
Запчасти Komatsu WA500-1 СОЕДИНЕНИЯ ВОДООТДЕЛИТЕЛЯ КОМПОНЕНТЫ ДВИГАТЕЛЯ И ЭЛЕКТРИКА

Схема запчастей Komatsu WA500-1 - СОЕДИНЕНИЯ ВОДООТДЕЛИТЕЛЯ КОМПОНЕНТЫ ДВИГАТЕЛЯ И ЭЛЕКТРИКА
1
2
3
4
4
5
5
5
5
5
6
7
8
8
9
9
FIT
1:1
100%

Артикул

Название

Примечание

Количество

1

425-04-14112

HOSE

SN: 20001-UP

1шт.

|1

425-04-14111

HOSE

SN: .-19999

1шт.

|1

425-04-14110

HOSE

SN: 10001-.

1шт.

2

07206-31014

BOLT,JOINT

SN: 10001-UP

1шт.

3

07005-01412

GASKET

SN: 10001-UP

2шт.

4

07270-21042

TUBE

SN: .-19999

1шт.

|4

07270-21060

TUBE

SN: 10001-.

1шт.

5

07281-00197

CLAMP

SN: 20001-UP

1шт.

|5

07281-00197

CLAMP

SN: 10001-19999

3шт.

6

07270-21061

TUBE

SN: .-UP

1шт.

|6

07270-21050

TUBE

SN: 10001-.

1шт.

7

07281-00197

CLAMP

SN: 10001-UP

1шт.

8

08034-20519

BAND

SN: 20001-UP

1шт.

|8

08034-20519

BAND

SN: .-19999

2шт.

|8

0

BAND

SN: 10001-.

2шт.

9

08034-20519

BAND

SN: .-19999

1шт.

|9

0

BAND

SN: 10001-.

1шт.

Выбрано товаров: 17