Запчасти Komatsu WA500-1 КОНСОЛЬН. БЛОК (БЕЗ КАБИНЫ)(№-) РАМА И ЧАСТИ КОРПУСА

Схема запчастей Komatsu WA500-1 - КОНСОЛЬН. БЛОК (БЕЗ КАБИНЫ)(№-) РАМА И ЧАСТИ КОРПУСА
FIT
1:1
100%

Артикул

Название

Примечание

Количество

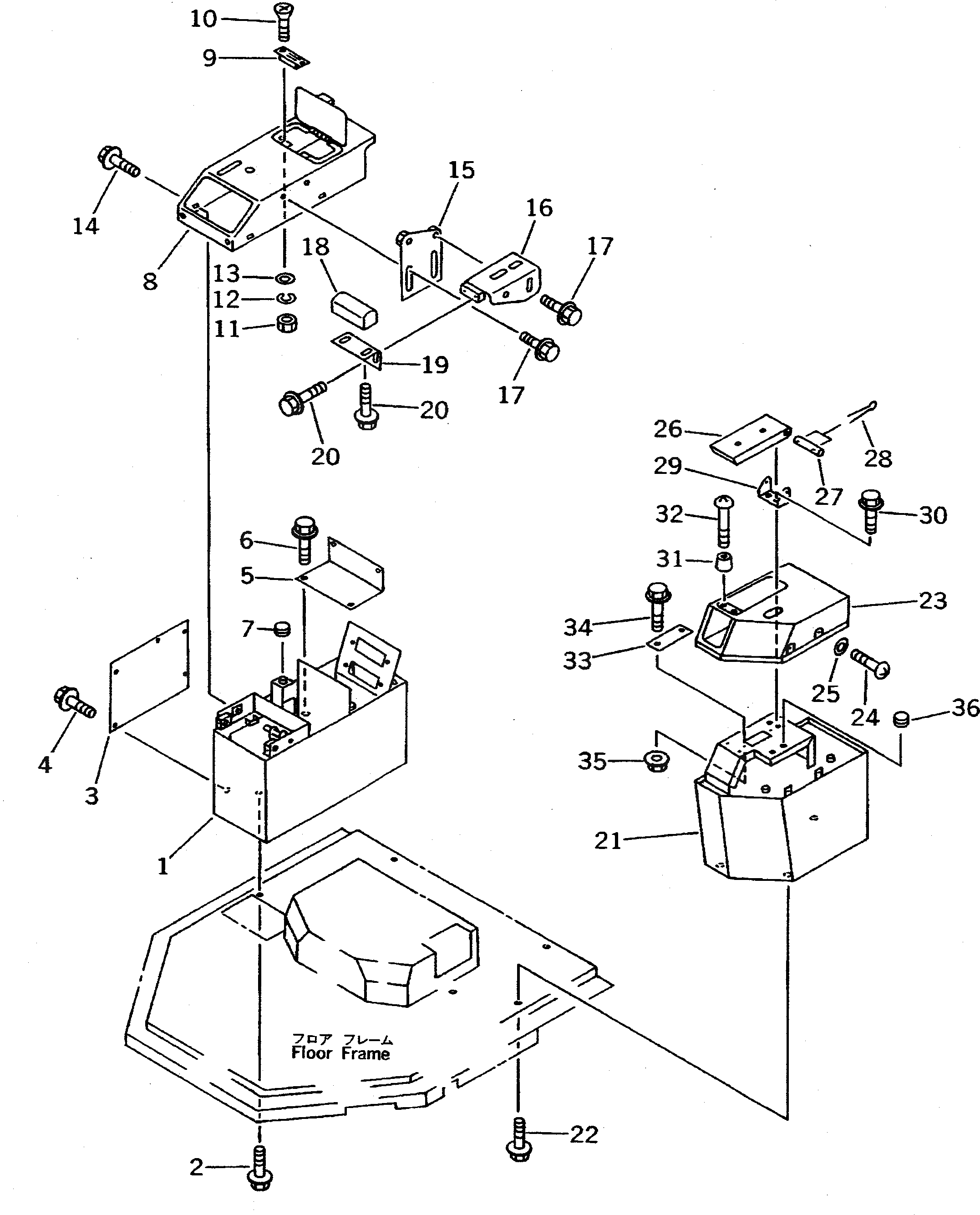
1

425-54-12713

BOX

SN: 20001-UP

1шт.

|1

421-U94-1770

BRACKET,(FOR LOAD METER)

SN: 20001-UP

1шт.

2

01435-01225

BOLT

SN: 20001-UP

3шт.

3

425-54-12722

PLATE

SN: 20001-UP

1шт.

4

01435-00812

BOLT

SN: 20001-UP

5шт.

5

424-54-14191

PLATE

SN: 20001-UP

1шт.

6

01435-00610

BOLT

SN: 20001-UP

4шт.

7

09415-01610

CAP

SN: 20001-UP

1шт.

8

425-54-12843

COVER

SN: 20001-UP

1шт.

9

09452-06506

CATCHER

SN: 10001-UP

1шт.

10

01224-40412

SCREW

SN: 10001-UP

2шт.

11

01580-10403

NUT

SN: 10001-UP

2шт.

12

01601-20410

WASHER,SPRING

SN: 10001-UP

2шт.

13

01641-20405

WASHER

SN: 10001-UP

2шт.

14

01435-00816

BOLT

SN: 20001-UP

4шт.

15

425-54-12692

PLATE

SN: 20001-UP

1шт.

16

425-54-12684

BRACKET

SN: 20001-UP

1шт.

17

01435-01225

BOLT

SN: 20001-UP

4шт.

18

421-54-18550

REST,ARM

SN: 20001-UP

1шт.

|18

425-S11-1360

REST,ARM (FOR HEAVY DUTY)

SN: 20001-UP

1шт.

19

421-54-18560

PLATE

SN: 20001-UP

1шт.

20

01435-00820

BOLT

SN: 20001-UP

4шт.

21

424-54-12830

BOX

SN: 10001-UP

1шт.

22

01435-01225

BOLT

SN: .-UP

3шт.

|22

01435-01220

BOLT

SN: 20001-.

3шт.

23

425-54-12671

COVER

SN: 20001-UP

1шт.

24

01220-70616

SCREW

SN: 20001-UP

4шт.

25

01642-40608

WASHER

SN: 20001-UP

4шт.

26

425-54-12510

BRACKET

SN: 10001-UP

1шт.

27

425-54-12530

SHAFT

SN: 10001-UP

1шт.

28

04050-13020

PIN,COTTER

SN: 10001-UP

2шт.

29

425-54-12520

PLATE

SN: 10001-UP

1шт.

30

01435-01020

BOLT

SN: 20001-UP

2шт.

31

425-54-12590

STOPPER

SN: 10001-UP

2шт.

32

01220-40420

SCREW

SN: 10001-UP

2шт.

33

424-54-12820

PLATE

SN: 10001-UP

1шт.

34

01435-01020

BOLT

SN: 20001-UP

2шт.

35

01584-01008

NUT

SN: 10001-UP

2шт.

36

09415-00506

CAP

SN: 20152-UP

2шт.

Выбрано товаров: 39