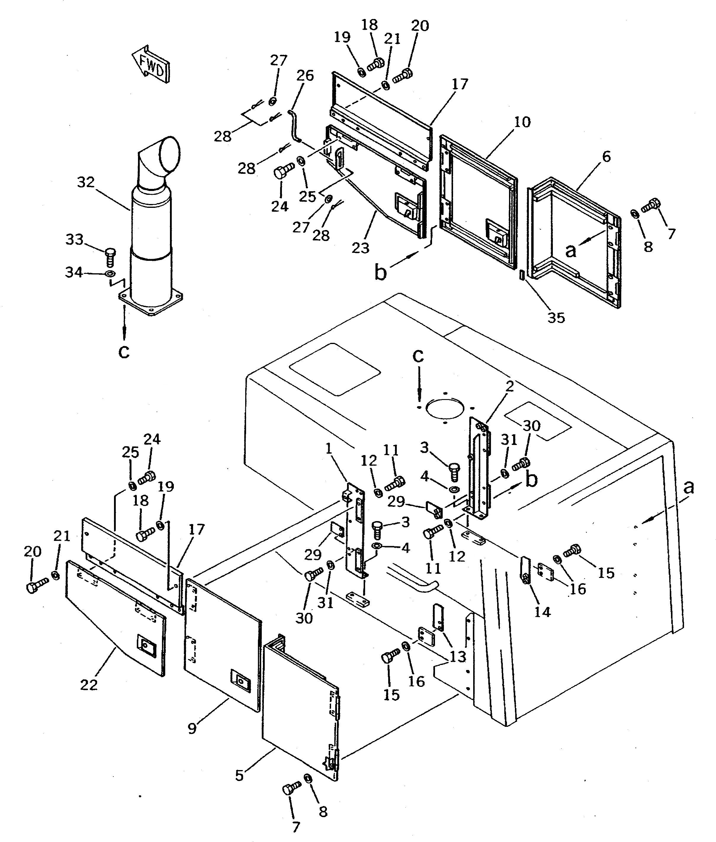
Запчасти Komatsu WA500-1 БОКОВ. КРЫШКА ДВИГ.(№-9999) РАМА И ЧАСТИ КОРПУСА

Схема запчастей Komatsu WA500-1 - БОКОВ. КРЫШКА ДВИГ.(№-9999) РАМА И ЧАСТИ КОРПУСА
FIT
1:1
100%

Артикул

Название

Примечание

Количество

1

425-54-11472

BRACKET,L.H.

SN: 10735-19999

1шт.

|1

0

BRACKET,L.H.

SN: 10001-10734

1шт.

2

425-54-11482

BRACKET,R.H.

SN: 10735-19999

1шт.

|2

0

BRACKET,R.H.

SN: 10001-10734

1шт.

3

01010-51225

BOLT

SN: 10001-19999

4шт.

4

01643-31232

WASHER

SN: 10001-@

4шт.

5

425-54-11430

DOOR,L.H.

SN: 10001-19999

1шт.

6

425-54-11440

DOOR,R.H.

SN: 10001-19999

1шт.

7

01010-51230

BOLT

SN: 10001-19999

8шт.

8

01643-31232

WASHER

SN: 10001-19999

8шт.

9

425-54-11490

DOOR,L.H.

SN: 10001-19999

1шт.

|9

421-54-11372

LOCK ASS'Y

SN: 10001-19999

1шт.

|9

421-54-11381

LOCK

SN: 10001-19999

1шт.

10

425-54-11510

DOOR,R.H.

SN: 10001-19999

1шт.

|10

421-54-11362

LOCK ASS'Y

SN: 10001-19999

1шт.

|10

421-54-11381

LOCK

SN: 10001-19999

1шт.

11

01010-51230

BOLT

SN: 10001-@

8шт.

12

01643-31232

WASHER

SN: 10001-@

8шт.

13

425-54-11541

PLATE

SN: 10001-19999

1шт.

14

425-54-11370

PLATE

SN: 10001-19999

1шт.

15

01010-51225

BOLT

SN: 10001-19999

4шт.

16

01643-31232

WASHER

SN: 10001-19999

4шт.

17

425-54-11552

HOOD

SN: 10735-19999

2шт.

|17

0

HOOD

SN: 10001-10734

2шт.

18

01010-51225

BOLT

SN: 10001-19999

4шт.

19

01643-31232

WASHER

SN: 10001-19999

4шт.

20

01010-51230

BOLT

SN: 10001-19999

4шт.

21

01643-31232

WASHER

SN: 10001-19999

4шт.

22

425-54-11583

DOOR,L.H.

SN: 10735-19999

2шт.

|22

0

DOOR,L.H.

SN: 10001-10734

1шт.

|22

421-54-11372

LOCK ASS'Y

SN: 10001-19999

1шт.

|22

421-54-11381

LOCK

SN: 10001-19999

1шт.

23

425-54-11573

DOOR,R.H.

SN: 10735-19999

1шт.

|23

0

DOOR,R.H.

SN: 10001-10734

1шт.

|23

421-54-11362

LOCK ASS'Y

SN: 10001-19999

1шт.

|23

421-54-11381

LOCK

SN: 10001-19999

1шт.

24

01010-51225

BOLT

SN: 10001-19999

8шт.

25

01643-31232

WASHER

SN: 10001-19999

8шт.

26

425-54-11850

BAR

SN: 10001-19999

2шт.

27

01643-31032

WASHER

SN: 10001-19999

4шт.

28

04050-13020

PIN,COTTER

SN: 10001-19999

8шт.

29

425-54-11460

PLATE

SN: 10001-19999

2шт.

30

01010-51225

BOLT

SN: 10001-19999

4шт.

31

01643-31232

WASHER

SN: 10001-19999

4шт.

32

425-02-11110

PIPE,EXHAUST (WITH GLASSWOOL)

SN: 10001-19999

1шт.

|32

425-02-12110

PIPE,EXHAUST (WITHOUT GLASSWOOL)

SN: 10001-19999

1шт.

33

01010-51235

BOLT

SN: 10001-19999

4шт.

34

01643-31232

WASHER

SN: 10001-19999

4шт.

35

421-09-12780

CUSHION,STRIP

SN: 10967-19999

4шт.

Выбрано товаров: 49