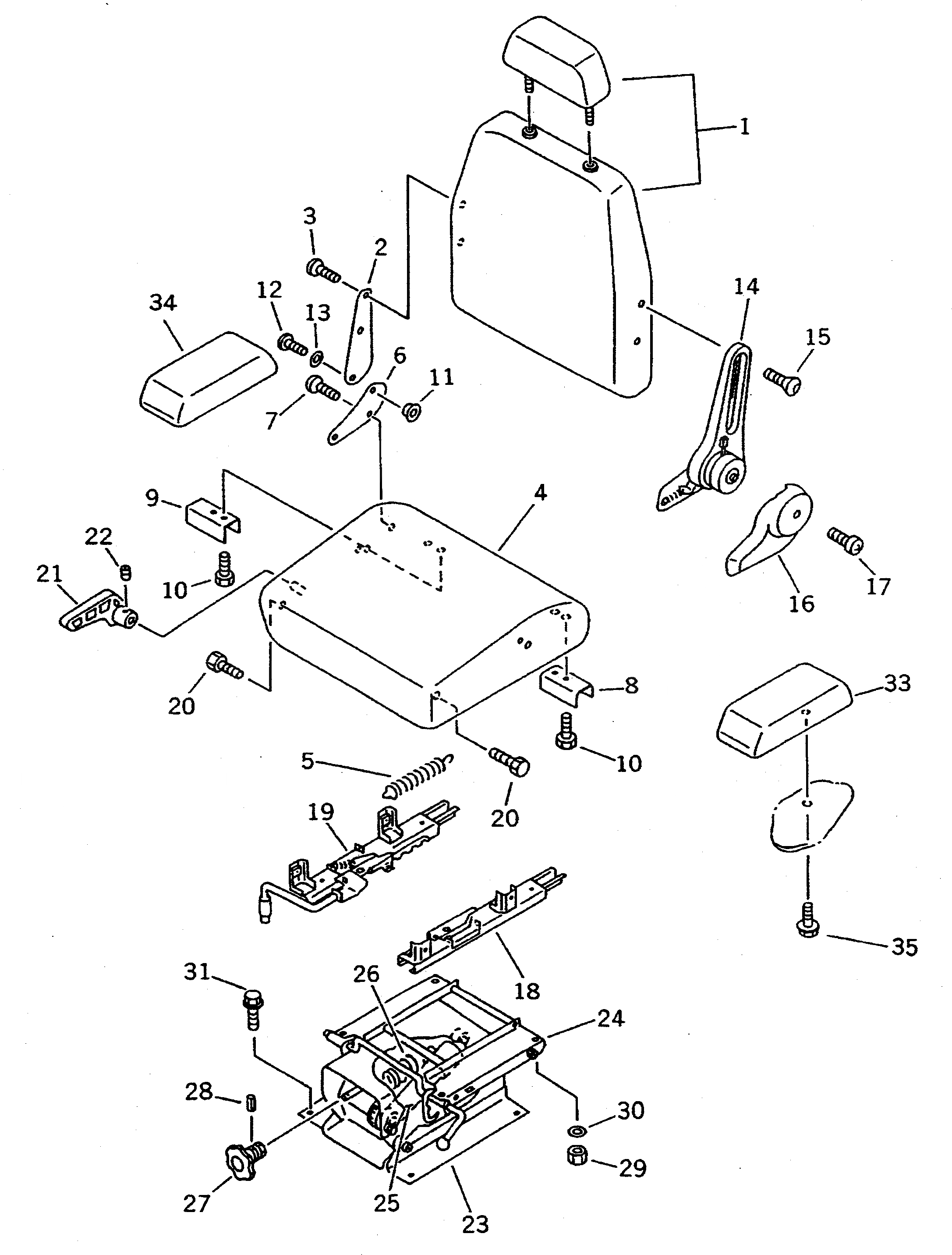
Запчасти Komatsu WA500-1 СИДЕНЬЕ ОПЕРАТОРА (РЕГУЛИР. ТИП) (УСИЛ. СПЕЦ-Я.)(№-) РАМА И ЧАСТИ КОРПУСА

Схема запчастей Komatsu WA500-1 - СИДЕНЬЕ ОПЕРАТОРА (РЕГУЛИР. ТИП) (УСИЛ. СПЕЦ-Я.)(№-) РАМА И ЧАСТИ КОРПУСА
FIT
1:1
100%

Артикул

Название

Примечание

Количество

|1

425-S11-1301

OPERATOR'S SEAT A.

SN: .-UP

1шт.

|1

0

OPERATOR'S SEAT A.

SN: 20001-.

1шт.

|1

425-S11-1311

SEAT ASS'Y

SN: .-UP

1шт.

|1

0

SEAT ASS'Y

SN: 20001-.

1шт.

1

425-S11-1330

CUSHION,BACK

SN: 20001-UP

1шт.

2

423-57-11490

BRACKET

SN: 20001-UP

1шт.

3

423-57-11380

BOLT

SN: 20001-UP

2шт.

4

425-S11-1320

CUSHION,SEAT

SN: 20001-UP

1шт.

5

423-57-11650

SPRING

SN: 20001-UP

1шт.

6

423-57-11450

BRACKET

SN: 20001-UP

1шт.

7

423-57-11380

BOLT

SN: 20001-UP

2шт.

8

423-57-11470

BRACKET,L.H.

SN: 20001-UP

1шт.

9

423-57-11480

BRACKET,R.H.

SN: 20001-UP

1шт.

10

423-57-11460

BOLT

SN: 20001-UP

4шт.

11

423-57-11420

BUSHING

SN: 20001-UP

1шт.

12

423-57-11430

SCREW

SN: 20001-UP

1шт.

13

423-57-11440

WASHER

SN: 20001-UP

1шт.

14

423-57-11330

RECLINING ASS'Y

SN: 10001-UP

1шт.

15

423-57-11380

BOLT

SN: 10001-UP

4шт.

16

423-57-11371

COVER

SN: 10001-UP

1шт.

17

423-57-11160

SCREW

SN: 10001-UP

1шт.

18

423-57-11350

SLIDE,L.H.

SN: 10001-UP

1шт.

19

423-57-11340

SLIDE,R.H.

SN: 10001-UP

1шт.

20

423-57-11390

BOLT

SN: 10001-UP

4шт.

21

423-57-11360

LEVER

SN: 10001-UP

1шт.

22

423-57-11410

SCREW

SN: 10001-UP

1шт.

23

423-57-11400

SUSPENSION ASS'Y

SN: 10001-UP

1шт.

24

423-57-11530

ADJUSTER,TILT

SN: 10001-UP

1шт.

25

423-57-11520

ABSORBER

SN: 10001-UP

1шт.

26

423-57-11510

SPRING

SN: 10001-UP

2шт.

27

423-57-11630

KNOB

SN: 20001-UP

1шт.

28

423-57-11640

PIN,SPRING

SN: 20001-UP

1шт.

29

423-57-11130

NUT

SN: 20001-UP

4шт.

30

423-57-11150

WASHER

SN: 20001-UP

4шт.

31

01435-01220

BOLT

SN: 20001-UP

4шт.

33

425-S11-1350

REST,ARM¤ L.H.

SN: 20001-UP

1шт.

34

425-S11-1340

REST,ARM¤ R.H.

SN: 20001-UP

1шт.

35

01435-00820

BOLT

SN: 20001-UP

4шт.

Выбрано товаров: 38