Запчасти Komatsu WA500-1 КОНДИЦ. ВОЗДУХА (/) (DAIKIN)(№-) РАМА И ЧАСТИ КОРПУСА

Схема запчастей Komatsu WA500-1 - КОНДИЦ. ВОЗДУХА (/) (DAIKIN)(№-) РАМА И ЧАСТИ КОРПУСА
FIT
1:1
100%

Артикул

Название

Примечание

Количество

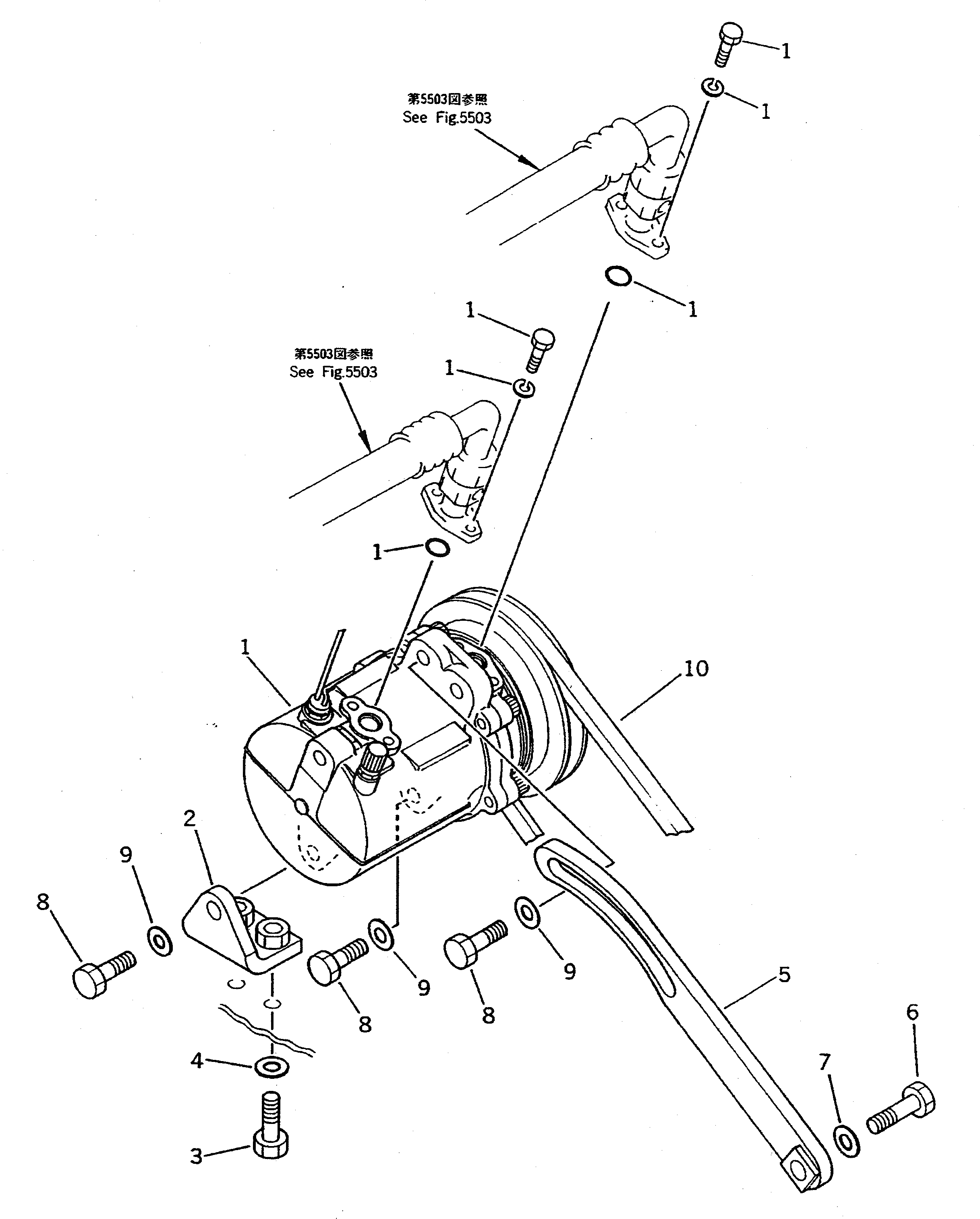
1

421-07-11712

COMPRESSOR ASS'Y

SN: 10001-10534

1шт.

2

425-07-11880

BRACKET

SN: 10001-10534

1шт.

3

01010-51030

BOLT

SN: 10001-10534

2шт.

4

01643-31032

WASHER

SN: 10001-10534

2шт.

5

425-07-11870

PLATE,ADJUST

SN: 10001-10534

1шт.

6

01010-51035

BOLT

SN: 10001-10534

1шт.

7

01643-31032

WASHER

SN: 10001-10534

1шт.

8

01010-51030

BOLT

SN: 10001-10534

4шт.

9

01643-31032

WASHER

SN: 10001-10534

4шт.

10

600-736-9550

V-BELT

SN: 10001-10534

1шт.

Выбрано товаров: 0