Запчасти Komatsu WA500-1 ЭЛЕКТРИКА (ПЕРЕДН. ОСВЕЩЕНИЕ) (УСИЛ. СПЕЦ-Я.)(№-) КОМПОНЕНТЫ ДВИГАТЕЛЯ И ЭЛЕКТРИКА

Схема запчастей Komatsu WA500-1 - ЭЛЕКТРИКА (ПЕРЕДН. ОСВЕЩЕНИЕ) (УСИЛ. СПЕЦ-Я.)(№-) КОМПОНЕНТЫ ДВИГАТЕЛЯ И ЭЛЕКТРИКА
FIT
1:1
100%

Артикул

Название

Примечание

Количество

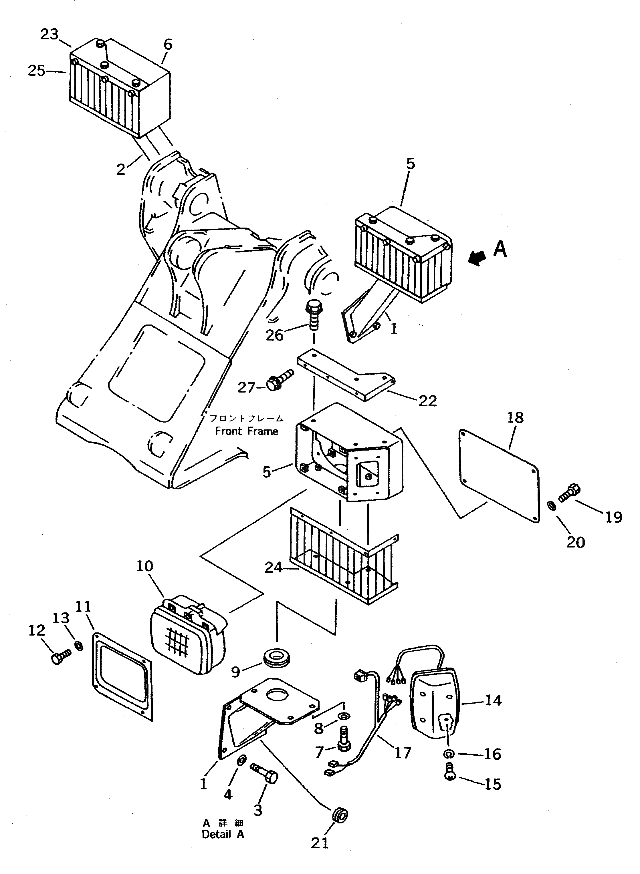
1

425-06-13112

SUPPORT,L.H.

SN: 20001-UP

1шт.

2

425-06-13122

SUPPORT,R.H.

SN: 20001-UP

1шт.

3

01010-81225

BOLT

SN: 20001-UP

8шт.

4

01643-31232

WASHER

SN: 20001-UP

8шт.

5

423-Z94-1111

BRACKET,L.H.

SN: 20001-UP

1шт.

6

423-Z94-1121

BRACKET,R.H.

SN: 20001-UP

1шт.

7

01010-81225

BOLT

SN: 20001-UP

6шт.

8

01643-31232

WASHER

SN: 20001-UP

6шт.

9

08037-03614

GROMMET

SN: 20001-UP

2шт.

10

421-06-13102

LAMP ASS'Y

SN: 20001-UP

2шт.

|10

421-06-13110

BULB¤ 85/65W

SN: 20001-UP

1шт.

|10

421-06-13120

CUSHION

SN: 20001-UP

4шт.

11

419-06-13250

COVER

SN: 20001-UP

2шт.

12

01010-80612

BOLT

SN: 20001-UP

8шт.

13

01643-30623

WASHER

SN: 20001-UP

8шт.

14

421-06-13301

LAMP ASS'Y,L.H.

SN: 20001-UP

1шт.

|14

421-06-13401

LAMP ASS'Y,R.H.

SN: 20001-UP

1шт.

|14

22W-06-12310

LENS,L.H.

SN: 20001-UP

1шт.

|14

22W-06-12320

LENS,R.H.

SN: 20001-UP

1шт.

|14

421-06-13310

BULB¤ 10/4W

SN: 20001-UP

1шт.

|14

08105-12420

BULB¤ 25W

SN: 20001-UP

2шт.

|14

01220-50450

SCREW

SN: 20001-UP

2шт.

|14

01220-50416

SCREW

SN: 20001-UP

2шт.

|14

01641-40405

WASHER

SN: 20001-UP

4шт.

15

01220-40520

SCREW

SN: 20001-UP

8шт.

16

01601-20513

WASHER,SPRING

SN: 20001-UP

8шт.

17

421-06-12360

WIRE ASS'Y

SN: 20001-UP

2шт.

18

419-06-13241

COVER

SN: 20001-UP

2шт.

19

01010-80612

BOLT

SN: 20001-UP

8шт.

20

01643-30623

WASHER

SN: 20001-UP

8шт.

21

08037-02512

GROMMET

SN: 20001-UP

2шт.

22

423-Z94-1130

PLATE,L.H.

SN: 20001-UP

1шт.

23

423-Z94-1140

PLATE,R.H.

SN: 20001-UP

1шт.

24

41K-06-13340

COVER,L.H.

SN: 20001-UP

1шт.

25

41K-06-13350

COVER,R.H.

SN: 20001-UP

1шт.

26

01435-01220

BOLT

SN: 20001-UP

6шт.

27

01435-01016

BOLT

SN: 20001-UP

8шт.

Выбрано товаров: 37