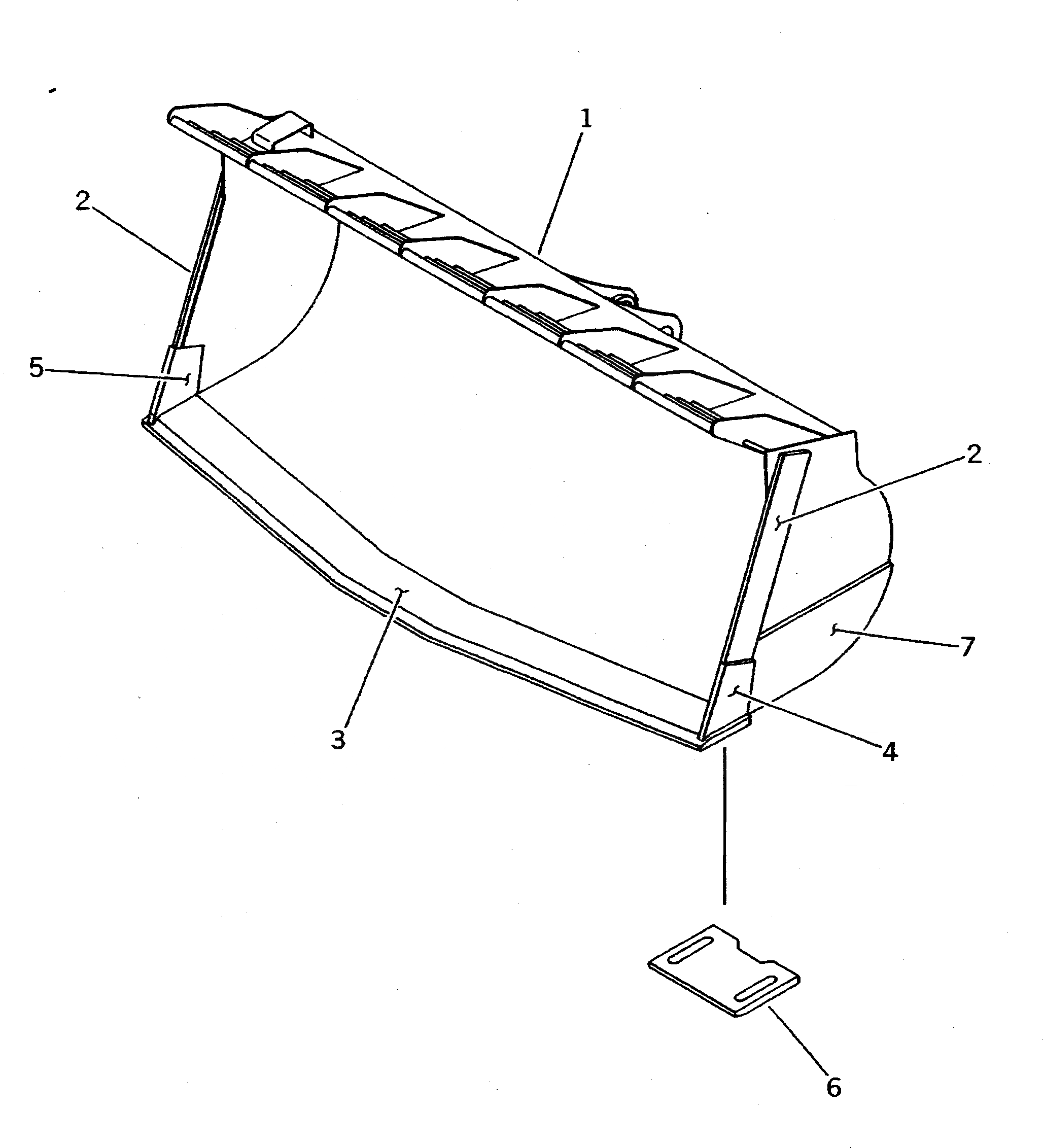
Запчасти Komatsu WA500-1 V-ОБРАЗН КОВШ¤ .M(№-) РАБОЧЕЕ ОБОРУДОВАНИЕ

Схема запчастей Komatsu WA500-1 - V-ОБРАЗН КОВШ¤ .M(№-) РАБОЧЕЕ ОБОРУДОВАНИЕ
FIT
1:1
100%

Артикул

Название

Примечание

Количество

|1

425-809-1410

BUCKET ASS'Y

SN: 20001-UP

1шт.

1

425-809-1310

BUCKET

SN: 20001-UP

1шт.

2

425-70-12132

PLATE (WELDED)

SN: 20001-UP

2шт.

3

425-809-1121

EDGE (WELDED)

SN: 10001-UP

1шт.

4

425-809-1350

PLATE,L.H. (WELDED)

SN: 20001-UP

1шт.

5

425-809-1360

PLATE,R.H. (WELDED)

SN: 20001-UP

1шт.

6

425-70-12141

PLATE (WELDED)

SN: 10001-UP

2шт.

7

425-809-1340

PLATE (WELDED)

SN: 20001-UP

2шт.

Выбрано товаров: 8