Запчасти Komatsu WA500-1 РЕЖУЩ. КРОМКА РАБОЧЕЕ ОБОРУДОВАНИЕ

Схема запчастей Komatsu WA500-1 - РЕЖУЩ. КРОМКА РАБОЧЕЕ ОБОРУДОВАНИЕ
FIT
1:1
100%

Артикул

Название

Примечание

Количество

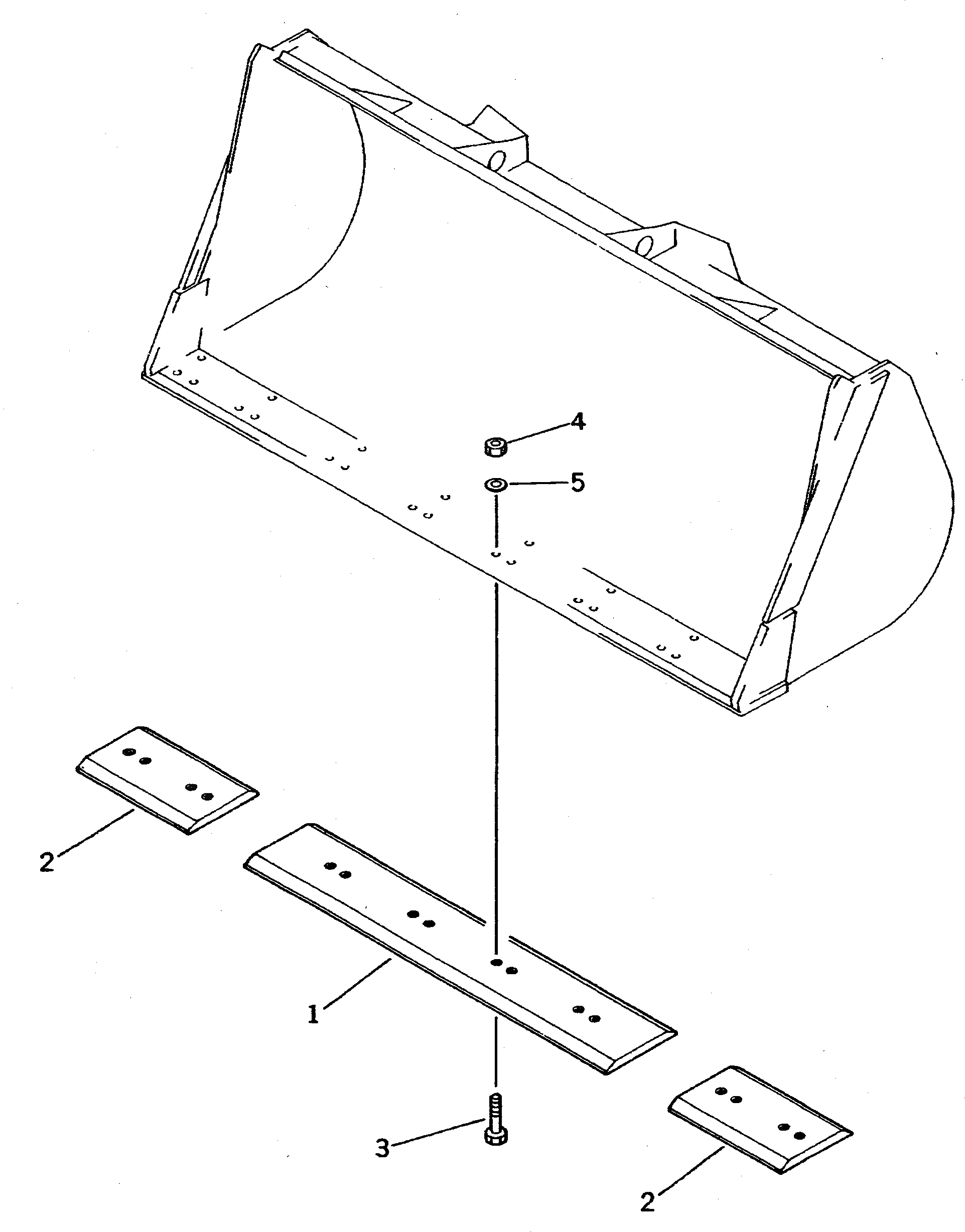
1

425-815-1310

EDGE,CENTER

SN: 20001-UP

1шт.

|1

425-815-1110

EDGE,CENTER

SN: 10001-19999

1шт.

2

425-815-1320

EDGE,SIDE

SN: 20001-UP

2шт.

|2

425-815-1120

EDGE,SIDE

SN: 10001-19999

2шт.

3

02091-11605

BOLT

SN: 10001-UP

16шт.

4

02290-11625

NUT

SN: 10001-UP

16шт.

5

01643-32780

WASHER

SN: 10001-UP

16шт.

Выбрано товаров: 7