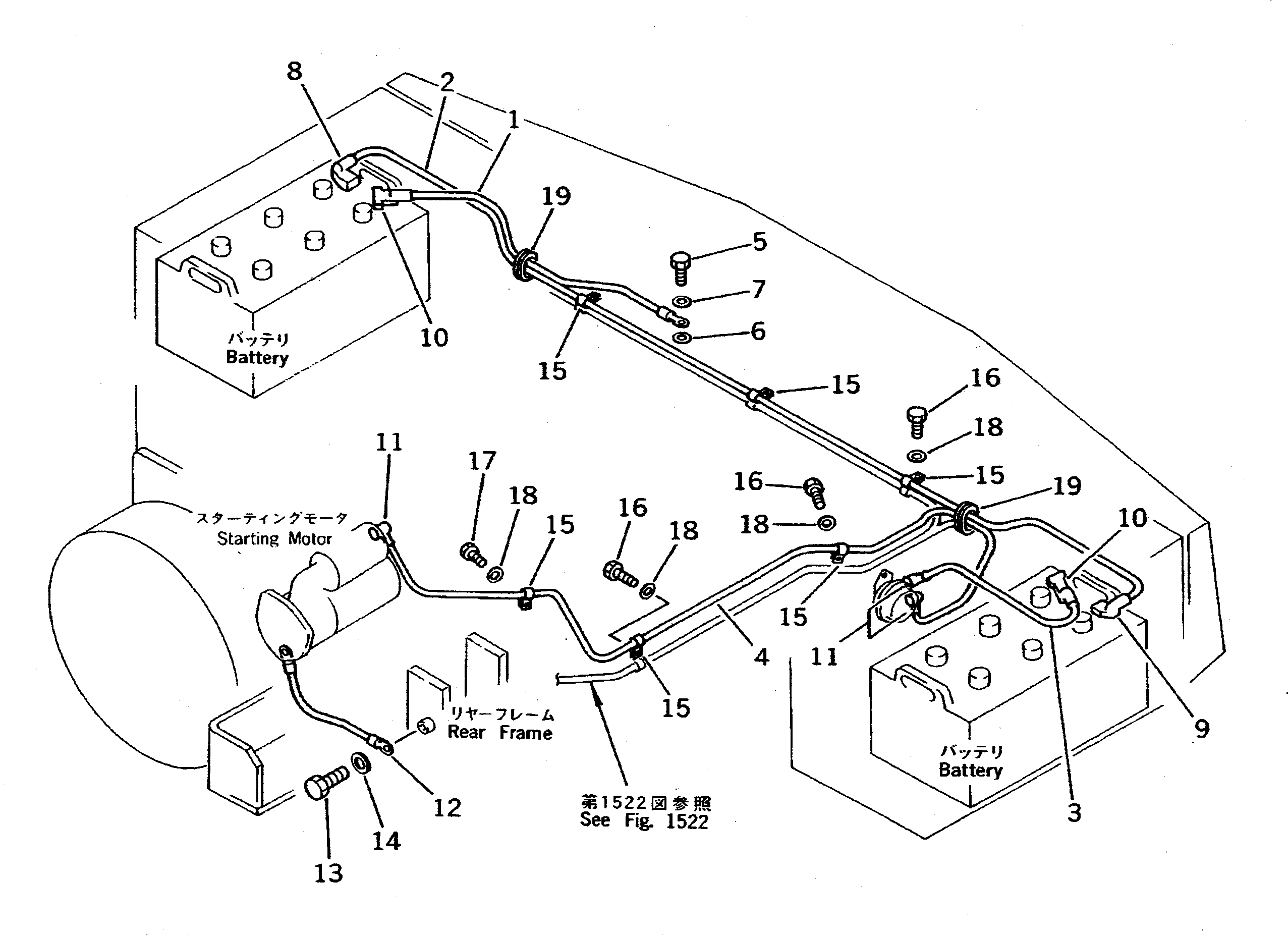
Запчасти Komatsu WA500-1 ЭЛЕКТРИКА (ЛИНИЯ АККУМУЛЯТОРА)(№-9999) КОМПОНЕНТЫ ДВИГАТЕЛЯ И ЭЛЕКТРИКА

Схема запчастей Komatsu WA500-1 - ЭЛЕКТРИКА (ЛИНИЯ АККУМУЛЯТОРА)(№-9999) КОМПОНЕНТЫ ДВИГАТЕЛЯ И ЭЛЕКТРИКА
FIT
1:1
100%

Артикул

Название

Примечание

Количество

1

421-06-12710

WIRE

SN: 10001-19999

1шт.

2

425-06-12540

WIRE

SN: 10001-@

1шт.

3

421-06-12730

WIRE

SN: 10001-@

1шт.

4

425-06-12530

WIRE

SN: 10001-19999

1шт.

5

01010-51020

BOLT

SN: 10001-19999

1шт.

6

01605-11023

WASHER

SN: 10001-19999

1шт.

7

01643-31032

WASHER

SN: 10001-19999

1шт.

8

424-09-12540

BOOT

SN: 10001-19999

1шт.

9

424-09-12530

BOOT

SN: 10001-19999

1шт.

10

08038-22511

CAP

SN: 10001-19999

2шт.

11

08038-00035

CAP

SN: 10001-@

3шт.

12

425-06-12560

WIRE

SN: 10001-@

1шт.

13

01010-51630

BOLT

SN: 10001-19999

1шт.

14

01643-31645

WASHER

SN: 10001-19999

1шт.

15

08036-01814

CLIP

SN: 10001-19999

6шт.

16

01010-51020

BOLT

SN: 10001-19999

5шт.

17

01010-51016

BOLT

SN: 10001-19999

2шт.

18

01643-31032

WASHER

SN: 10001-19999

7шт.

19

426-09-11230

GROMMET

SN: 10001-@

2шт.

Выбрано товаров: 19