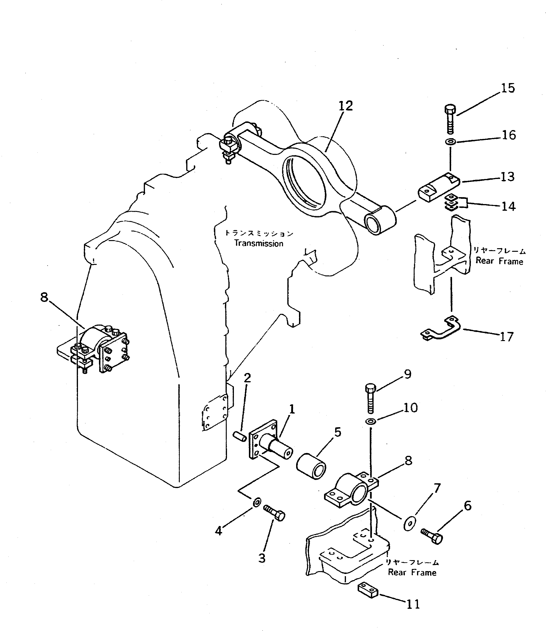
Запчасти Komatsu WA500-1 ТОРКФЛОУ ЭЛЕМЕНТЫ КРЕПЛЕНИЯ(№-9999) ТРАНСМИССИЯ

Схема запчастей Komatsu WA500-1 - ТОРКФЛОУ ЭЛЕМЕНТЫ КРЕПЛЕНИЯ(№-9999) ТРАНСМИССИЯ
FIT
1:1
100%

Артикул

Название

Примечание

Количество

1

421-14-11110

PIN

SN: 10001-19999

2шт.

2

04020-01228

PIN,DOWEL

SN: 10001-@

4шт.

3

01010-31645

BOLT

SN: 10001-19999

8шт.

4

01643-31645

WASHER

SN: 10001-@

8шт.

5

566-14-41130

CUSHION

SN: 10001-19999

2шт.

6

01010-31625

BOLT

SN: 10001-19999

2шт.

7

566-14-41170

WASHER

SN: 10001-19999

2шт.

8

566-14-41160

BRACKET

SN: 10001-19999

2шт.

9

01010-31670

BOLT

SN: 10001-19999

8шт.

10

01643-31645

WASHER

SN: 10001-19999

8шт.

11

421-14-11160

SEAT

SN: 10001-19999

4шт.

12

421-14-11121

TRUNNION

SN: 10001-19999

1шт.

13

566-14-51152

CUSHION

SN: 10001-19999

2шт.

14

566-14-51171

SHIM¤ 0.5MM

SN: 10001-19999

16шт.

|14

425-14-11110

SHIM¤ 2.3MM

SN: 10001-19999

4шт.

15

01010-31495

BOLT

SN: 10001-19999

4шт.

16

01643-31445

WASHER

SN: 10001-19999

4шт.

17

421-14-11130

PLATE

SN: 10001-19999

2шт.

Выбрано товаров: 18