Запчасти Komatsu WA500-1 МАСЛЯНЫЙ ФИЛЬТР ТРАНСМИССИИ ТРАНСМИССИЯ

Схема запчастей Komatsu WA500-1 - МАСЛЯНЫЙ ФИЛЬТР ТРАНСМИССИИ ТРАНСМИССИЯ
FIT
1:1
100%

Артикул

Название

Примечание

Количество

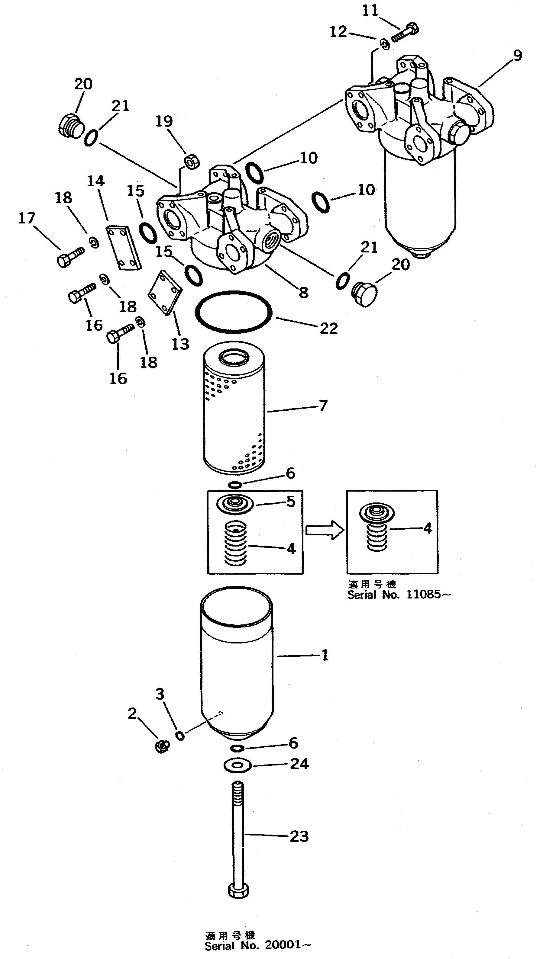
|1

425-16-11112

OIL FILTER ASS'Y

SN: 11085-UP

1шт.

|1

425-16-11111

OIL FILTER ASS'Y

SN: 10001-11084

1шт.

1

424-16-11161

CASE

SN: 11085-UP

2шт.

|1

424-16-11160

CASE

SN: 10001-11084

2шт.

2

07040-11209

PLUG

SN: 10001-UP

2шт.

3

07002-11223

O-RING

SN: 10001-UP

2шт.

4

424-16-11191

SPRING

SN: 11085-UP

2шт.

|4

424-16-11190

SPRING

SN: 10001-11084

2шт.

5

424-16-11610

PLATE

SN: 10001-11084

2шт.

6

424-16-11630

O-RING

SN: 10001-UP

4шт.

7

424-16-11140

ELEMENT

SN: 10001-UP

2шт.

8

425-16-11282

COVER,HEAD

SN: 10447-UP

1шт.

|8

0

COVER,HEAD

SN: 10001-10446

1шт.

9

425-16-11132

COVER,HEAD

SN: 10447-UP

1шт.

|9

0

COVER,HEAD

SN: 10001-10446

1шт.

10

07000-13038

O-RING

SN: 10001-UP

2шт.

11

01010-81040

BOLT

SN: 10001-UP

6шт.

12

01602-21030

WASHER,SPRING

SN: 10001-UP

6шт.

13

425-16-11260

PLATE

SN: 10001-UP

1шт.

14

425-16-11270

PLATE

SN: 10001-UP

1шт.

15

07000-13038

O-RING

SN: 10001-UP

2шт.

16

01010-81025

BOLT

SN: 10001-UP

5шт.

17

01010-81040

BOLT

SN: 10001-UP

3шт.

18

01602-21030

WASHER,SPRING

SN: 10001-UP

8шт.

19

01580-11008

NUT

SN: 10001-UP

3шт.

20

425-16-11240

PLUG

SN: 10001-UP

4шт.

21

07002-13334

O-RING

SN: 10001-UP

4шт.

22

424-16-11130

O-RING

SN: 10001-UP

2шт.

23

424-16-11171

BOLT

SN: 11085-UP

2шт.

|23

424-16-11170

BOLT

SN: 10001-11084

2шт.

24

424-16-11620

WASHER

SN: 10001-UP

2шт.

Выбрано товаров: 31