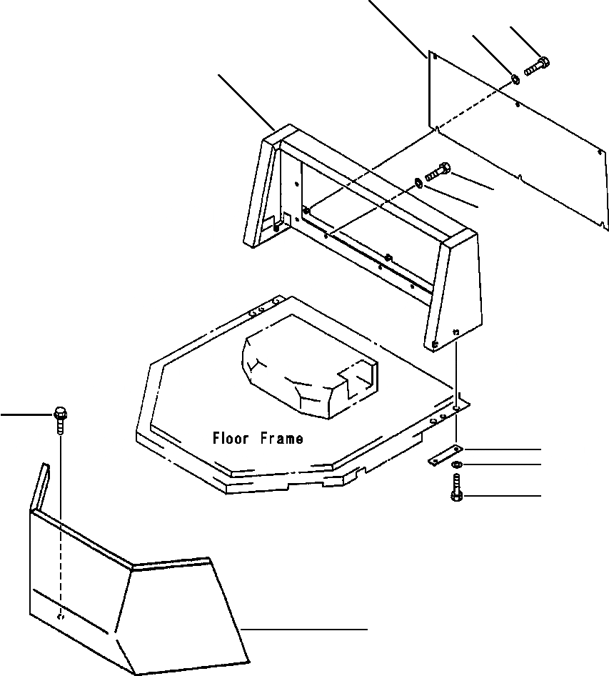
Запчасти Komatsu WA500-1L ПЕРЕДН. И ЗАДН. ЧАСТИ КОРПУСА (MACHINES БЕЗ КАБИНЫ) РАМА

Схема запчастей Komatsu WA500-1L - ПЕРЕДН. И ЗАДН. ЧАСТИ КОРПУСА (MACHINES БЕЗ КАБИНЫ) РАМА
2
3
1
5
6
11
7
9
8
10
4
FIT
1:1
100%

Артикул

Название

Примечание

Количество

1

426-54-16210

GUARD, OPERATOR'S COMPARTMENT (REAR)

1шт.

2

426-54-16120

COVER, REAR GUARD

1шт.

3

01010-31225

BOLT, MOUNT REAR COVER

6шт.

4

01643-31232

WASHER

6шт.

5

01010-31225

BOLT, MOUNT REAR GUARD

4шт.

6

01643-31232

WASHER

4шт.

7

426-54-16220

PLATE, MOUNT REAR GUARD

2шт.

8

01010-31240

BOLT, MOUNT REAR GUARD

4шт.

9

01643-31232

WASHER

4шт.

10

421-54-16110

GUARD, OPERATOR'S COMPARTMENT (FRONT)

1шт.

11

01435-01245

BOLT, MOUNT FRONT GUARD

6шт.

Выбрано товаров: 11