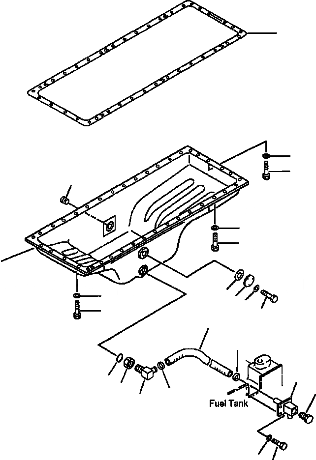
Запчасти Komatsu WA500-1L МАСЛЯНЫЙ ПОДДОН (W/O ДАТЧИК УР-НЯ МАСЛА) БЛОК ЦИЛИНДРОВ

Схема запчастей Komatsu WA500-1L - МАСЛЯНЫЙ ПОДДОН (W/O ДАТЧИК УР-НЯ МАСЛА) БЛОК ЦИЛИНДРОВ
16
18
17
18
17
1
13
18
12
15
17
14
5
6
7
11
4
8
6
10
3
2
9
FIT
1:1
100%

Артикул

Название

Примечание

Количество

1

6211-21-5240

PAN, OIL

1шт.

2

02720-21616

PLUG

1шт.

|$2

6211-51-6200

HOSE ASSEMBLY, ENGINE OIL DRAIN

1шт.

3

421-01-11180

ELBOW

1шт.

4

01583-13621

NUT

1шт.

5

07260-22045

HOSE

1шт.

6

07281-00359

CLAMP, HOSE

2шт.

7

425-01-12121

TUBE, OIL DRAIN

1шт.

8

424-01-11110

PLUG, OIL DRAIN

1шт.

9

01010-51030

BOLT, MOUNT OIL DRAIN TUBE

2шт.

10

01643-31032

WASHER

2шт.

11

07002-23634

O-RING, OIL DRAIN LINE

1шт.

12

6136-21-5770

PLATE

1шт.

13

6136-21-5870

GASKET

1шт.

14

01010-50612

BOLT, MOUNT PLATE

3шт.

15

01640-20610

WASHER

3шт.

16

6210-21-5820

GASKET, ENGINE OIL PAN

1шт.

17

01010-51025

BOLT, MOUNT OIL PAN

38шт.

18

01640-21016

WASHER

38шт.

N/I

GASKET KIT, CYLINDER BLOCK (SEE PG E9-002)

-29шт.

|$22

-1шт.

|$21

F1 - INCLUDED IN CYLINDER BLOCK GASKET KIT 6211-K2-0105.

-1шт.

|$23

-1шт.

Выбрано товаров: 23