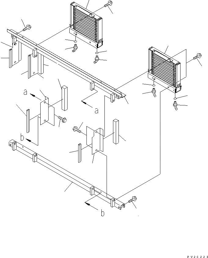
Запчасти Komatsu WA500-3 РАДИАТОР (ТОРМОЗ. МАСЛООХЛАДИТЕЛЬ) (С ВСАСЫВ. ВЕНТИЛЯТОРОМ)(№-) СИСТЕМА ОХЛАЖДЕНИЯ

Схема запчастей Komatsu WA500-3 - РАДИАТОР (ТОРМОЗ. МАСЛООХЛАДИТЕЛЬ) (С ВСАСЫВ. ВЕНТИЛЯТОРОМ)(№-) СИСТЕМА ОХЛАЖДЕНИЯ
1
1
2
2
2
2
3
3
3
3
4
4
5
6
7
7
8
8
9
10
11
11
12
12
12
13
13
13
13
FIT
1:1
100%

Артикул

Название

Примечание

Количество

1

425-S05-2101

OIL COOLER

SN: 50001-@

2шт.

2

07236-10628

ELBOW

SN: 50001-52000

4шт.

3

07002-22434

O-RING

SN: 50001-@

4шт.

4

01435-00816

BOLT

SN: 50001-@

8шт.

5

425-S05-2131

BRACKET

SN: 50001-52000

1шт.

6

425-S05-2281

BRACKET

SN: 50001-52000

1шт.

7

01435-01055

BOLT

SN: 50001-@

4шт.

8

425-S05-2311

PLATE

SN: 50001-52000

2шт.

9

425-S05-2670

PLATE,L.H.

SN: 50001-52000

1шт.

10

425-S05-2680

PLATE,R.H.

SN: 50001-52000

1шт.

11

01435-01016

BOLT

SN: 50001-@

8шт.

12

425-S05-2330

SHEET

SN: 50001-@

4шт.

13

425-S05-2320

SEAL

SN: 50001-@

4шт.

Выбрано товаров: 13