Запчасти Komatsu WA500-3 СУППОРТ (ДЛЯ ОСНОВН. КОНСТРУКЦИЯ)(№-) КАБИНА ОПЕРАТОРА И СИСТЕМА УПРАВЛЕНИЯ

Схема запчастей Komatsu WA500-3 - СУППОРТ (ДЛЯ ОСНОВН. КОНСТРУКЦИЯ)(№-) КАБИНА ОПЕРАТОРА И СИСТЕМА УПРАВЛЕНИЯ
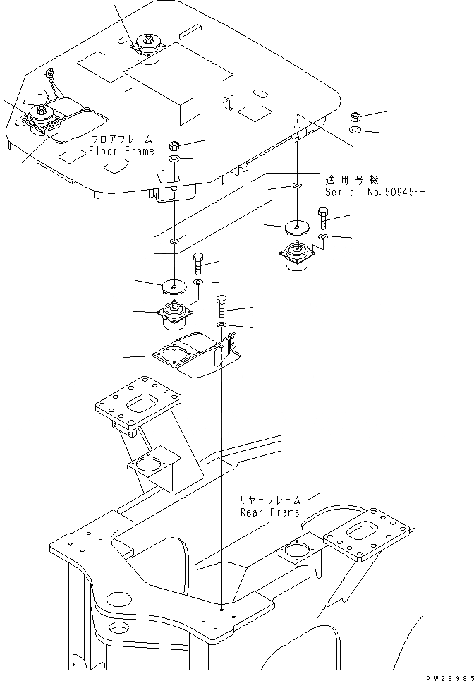
1
2
3
4
5
5
5
5
6
7
8
8
9
9
10
10
11
11
12
12
FIT
1:1
100%

Артикул

Название

Примечание

Количество

1

425-54-23112

SUPPORT,L.H.

SN: 50022-52000

1шт.

1

0

SUPPORT,L.H.

SN: 50001-50021

1шт.

2

425-54-23122

SUPPORT,R.H.

SN: 50022-52000

1шт.

2

0

SUPPORT,R.H.

SN: 50001-50021

1шт.

3

01010-31645

BOLT

SN: .-@

8шт.

3

0

BOLT

SN: 50001-.

8шт.

4

01643-31645

WASHER

SN: 50001-@

8шт.

5

425-54-23130

MOUNT ASS'Y,VISCOUS

SN: 50001-@

4шт.

6

01010-51025

BOLT

SN: 50001-@

8шт.

7

01010-81035

BOLT

SN: .-@

8шт.

7

0

BOLT

SN: 50001-.

8шт.

8

01643-31032

WASHER

SN: 50001-@

16шт.

9

421-54-23250

PLATE

SN: 50001-@

4шт.

10

425-70-11290

WASHER

SN: 50001-@

4шт.

11

01596-01615

NUT,LOCK

SN: .-@

4шт.

11

0

NUT,LOCK

SN: 50001-.

4шт.

12

42C-54-13160

SHIM, 1.0MM

SN: 50945-@

8шт.

Выбрано товаров: 17