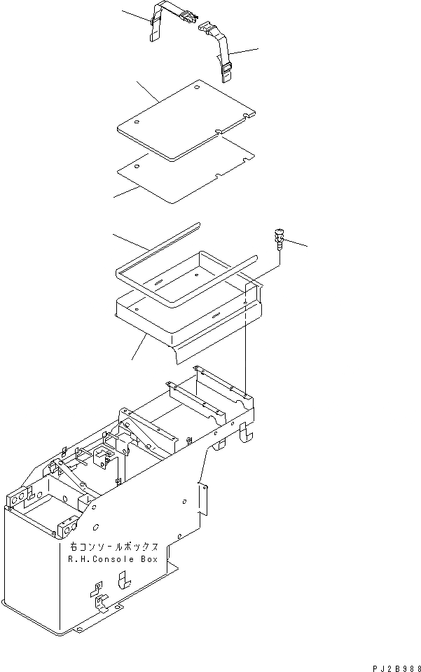
Запчасти Komatsu WA500-3 ПОЛ SUB (ПРАВ. КОНСОЛЬН. БЛОК КОРПУС)(№9-) КАБИНА ОПЕРАТОРА И СИСТЕМА УПРАВЛЕНИЯ

Схема запчастей Komatsu WA500-3 - ПОЛ SUB (ПРАВ. КОНСОЛЬН. БЛОК КОРПУС)(№9-) КАБИНА ОПЕРАТОРА И СИСТЕМА УПРАВЛЕНИЯ
1
2
3
4
5
6
7
FIT
1:1
100%

Артикул

Название

Примечание

Количество

1

426-54-22751

CASE

SN: 52019-UP

1шт.

2

426-54-22760

SHEET

SN: 52019-UP

1шт.

3

421-09-21430

SCREW

SN: 52019-UP

4шт.

4

426-54-22770

FINISHER

SN: 52019-UP

1шт.

5

426-54-22780

BAND

SN: 52019-UP

1шт.

6

426-54-22790

BAND

SN: 52019-UP

1шт.

7

427-54-22120

PLATE

SN: 52019-UP

1шт.

Выбрано товаров: 7