Запчасти Komatsu WA500-3 ОСНОВН. КОНСТРУКЦИЯ (С УПРАВЛЕНИЕМ ДЖОЙСТИКОМ)(№-) КАБИНА ОПЕРАТОРА И СИСТЕМА УПРАВЛЕНИЯ

Схема запчастей Komatsu WA500-3 - ОСНОВН. КОНСТРУКЦИЯ (С УПРАВЛЕНИЕМ ДЖОЙСТИКОМ)(№-) КАБИНА ОПЕРАТОРА И СИСТЕМА УПРАВЛЕНИЯ
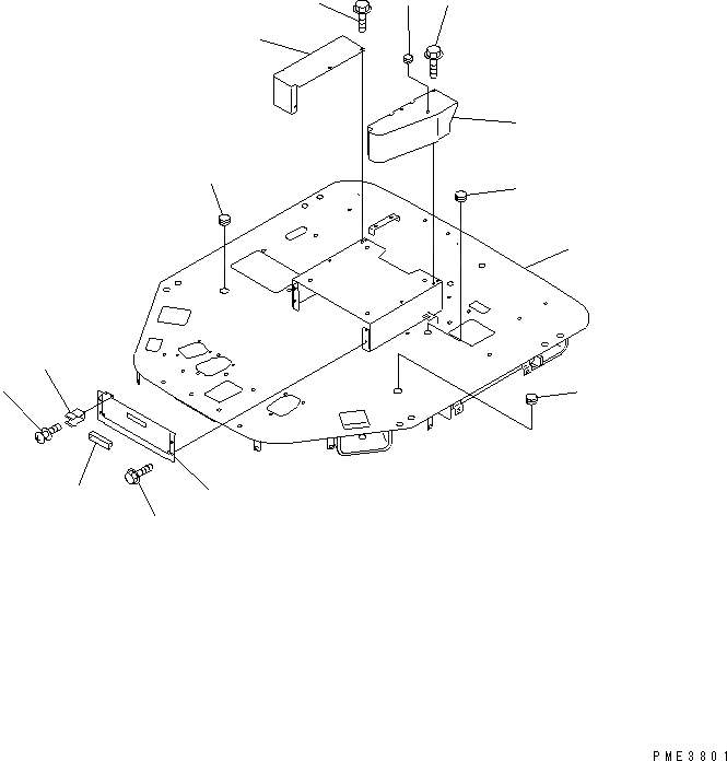
1
2
3
4
5
6
7
8
9
10
11
12
13
13
FIT
1:1
100%

Артикул

Название

Примечание

Количество

1

421-S99-2620

FRAME,FLOOR

SN: 50001-52000

1шт.

2

421-54-22121

COVER

SN: 50001-52000

1шт.

3

08052-01311

CLIP

SN: 50001-52000

1шт.

4

01023-10612

SCREW

SN: 50001-52000

1шт.

5

421-54-22750

HANDLE

SN: 50001-52000

1шт.

6

01435-00616

BOLT

SN: 50001-@

4шт.

7

09415-00506

CAP

SN: 50001-@

1шт.

8

421-S99-2610

COVER,L.H.

SN: 50001-52000

1шт.

9

01435-00616

BOLT

SN: 50001-52000

3шт.

10

421-54-22130

COVER,R.H.

SN: 50001-52000

1шт.

11

01435-00616

BOLT

SN: 50001-52000

3шт.

12

09415-01610

CAP

SN: 50001-@

1шт.

13

09415-02520

CAP

SN: 50001-@

2шт.

Выбрано товаров: 13