Запчасти Komatsu WA500-3L H-A ОБОРУД-Е КРЕПЛЕНИЕ КОНТРОЛЬНОГО КЛАПАНА (2-Х СЕКЦИОНН.) ГИДРАВЛИКА

Схема запчастей Komatsu WA500-3L - H-A ОБОРУД-Е КРЕПЛЕНИЕ КОНТРОЛЬНОГО КЛАПАНА (2-Х СЕКЦИОНН.) ГИДРАВЛИКА
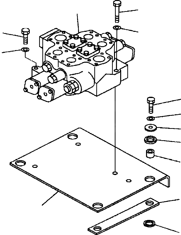
1
3
2
4
4
6
7
8
9
10
12
5
11
FIT
1:1
100%

Артикул

Название

Примечание

Количество

1

VALVE, 2-SPOOL CONTROL (SEE FIG. H0120-01A3 )

SN: A70001 --UP

-1шт.

2

01010-81680

BOLT

SN: A70001 --UP

2шт.

3

01011-81605

BOLT

SN: A70001 --UP

1шт.

4

01643-31645

WASHER

SN: A70001 --UP

3шт.

5

425-64-23110

BRACKET

SN: A70001 --UP

1шт.

6

01010-81670

BOLT

SN: A70001 --UP

4шт.

7

01643-31645

WASHER

SN: A70001 --UP

4шт.

8

421-70-11280

WASHER

SN: A70001 --UP

4шт.

9

421-64-23120

CUSHION

SN: A70001 --UP

4шт.

10

421-64-23140

SPACER

SN: A70001 --UP

4шт.

11

421-64-23130

CUSHION

SN: A70001 --UP

4шт.

12

421-64-23150

CUSHION

SN: A70001 --UP

2шт.

Выбрано товаров: 12