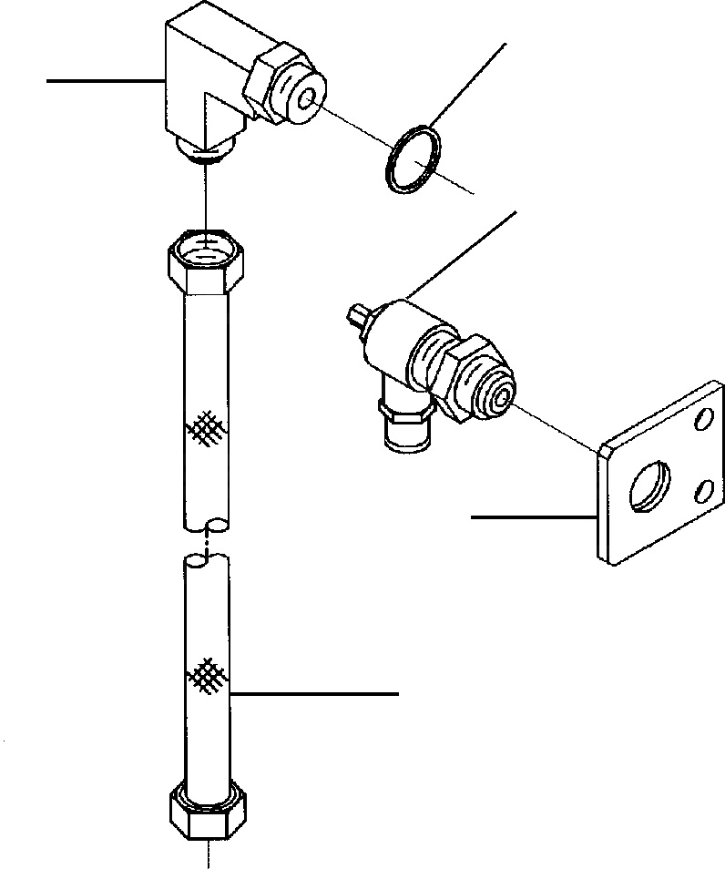
Запчасти Komatsu WA500-3L A999-AA ДРЕНАЖ ДВИГАТЕЛЬ

Схема запчастей Komatsu WA500-3L - A999-AA ДРЕНАЖ ДВИГАТЕЛЬ
3
4
2
5
1
FIT
1:1
100%

Артикул

Название

Примечание

Количество

1

1310 645 H1

HOSE, FLEXIBLE

1шт.

2

1304 769 H1

VALVE, SHUT OFF

1шт.

|$2

1304 770 H1

ELBOW, MALE UNION

1шт.

3

1240 006 H1

WASHER, PLAIN

1шт.

4

1307 702 H1

ELBOW, MALE UNION

1шт.

5

1304 771 H1

BRACKET, SHUT OFF VALVE

1шт.

Выбрано товаров: 6