Запчасти Komatsu WA500-3L M-A ПРОТИВОВЕС ДОПОЛН. ЧАСТИ КОРПУСА

Схема запчастей Komatsu WA500-3L - M-A ПРОТИВОВЕС ДОПОЛН. ЧАСТИ КОРПУСА
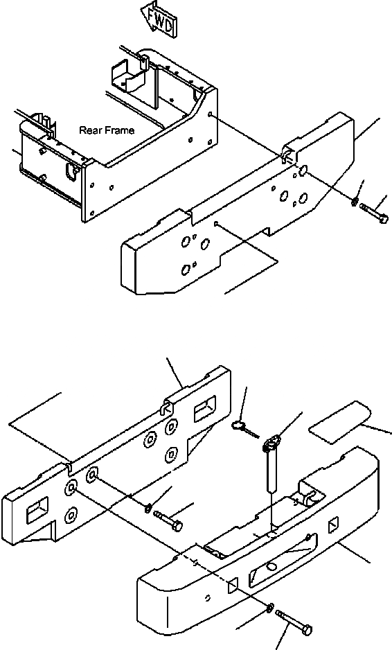
12
7
6
11
9
8
10
3
2
1
5
4
FIT
1:1
100%

Артикул

Название

Примечание

Количество

1

425-46-25110

COUNTERWEIGHT

SN: A70001 --UP

1шт.

2

425-975-2130

BOLT

SN: A70001 --UP

2шт.

3

01643-33080

WASHER

SN: A70001 --UP

2шт.

4

425-975-2120

BOLT

SN: A70001 --UP

4шт.

5

01643-33080

WASHER

SN: A70001 --UP

4шт.

6

01011-63075

BOLT

SN: A70001 --UP

6шт.

7

01643-33080

WASHER

SN: A70001 --UP

6шт.

8

425-46-13121

PIN, TOW

SN: A70001 --UP

1шт.

9

425-46-13130

PIN, LINCH

SN: A70001 --UP

1шт.

10

425-46-25120

PLATE

SN: A70001 --UP

1шт.

11

425-975-2111

COUNTERWEIGHT (ADDITIONAL)

SN: A70001 --UP

1шт.

|$11

425-975-2000

ADDITIONAL WEIGHT ASSEMBLY

SN: A70001 --UP

1шт.

12

425-974-2110

COUNTERWEIGHT LOGGING

SN: A70001 --UP

1шт.

|$13

13

-1шт.

|$14

F2 - FOR LOGGING

15

-1шт.

|$15

F2 - FOR LOGGING

15

-1шт.

Выбрано товаров: 16