Запчасти Komatsu WA500-3L T-A ЦИЛИНДР СТРЕЛЫКРЕПЛЕНИЕ РАБОЧЕЕ ОБОРУДОВАНИЕ

Схема запчастей Komatsu WA500-3L - T-A ЦИЛИНДР СТРЕЛЫКРЕПЛЕНИЕ РАБОЧЕЕ ОБОРУДОВАНИЕ
2
1
3
8
7
1
4
6
2
5
5
6
8
7
FIT
1:1
100%

Артикул

Название

Примечание

Количество

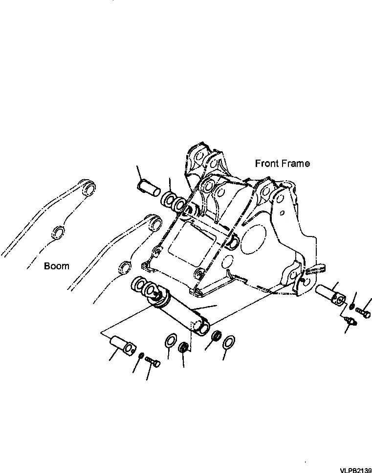
1

CYLINDER ASSEMBLY (SEE FIG. H5000-01A0 )

SN: A70001 --UP

-1шт.

2

425-70-11770

PIN

SN: A70001 --UP

2шт.

3

425-70-11980

PIN

SN: A70001 --UP

2шт.

4

07020-00000

FITTING, GREASE

SN: A70001 --UP

2шт.

5

425-70-11430

SHIM, 1.5 MM

SN: A70001 --UP

2шт.

|$5

425-70-11440

SHIM, 3.0 MM

SN: A70001 --UP

2шт.

6

421-09-11350

SEAL, DUST

SN: A70001 --UP

4шт.

7

01010-81630

BOLT

SN: A70001 --UP

4шт.

8

421-70-11280

WASHER

SN: A70001 --UP

4шт.

Выбрано товаров: 9