Запчасти Komatsu WA500-6 ГИДРОЦИЛИНДР ПОДЪЕМА (ЛЕВ.)(№-) ОСНОВН. КОМПОНЕНТЫ И РЕМКОМПЛЕКТЫ

Схема запчастей Komatsu WA500-6 - ГИДРОЦИЛИНДР ПОДЪЕМА (ЛЕВ.)(№-) ОСНОВН. КОМПОНЕНТЫ И РЕМКОМПЛЕКТЫ
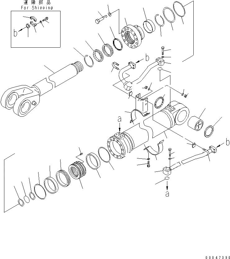
1
2
3
3
4
5
6
7
8
9
10
11
12
13
14
15
16
17
17
18
19
20
20
21
21
22
23
24
25
25
26
26
27
27
28
29
30
31
32
32
33
33
34
34
35
35
36
37
37
38
39
FIT
1:1
100%

Артикул

Название

Примечание

Количество

G-1

0

CYLINDER GROUP,L.H. (FINAL COATING)

SN: 55001-UP

1шт.

|$$2

====================

-1шт.

|$3

707-01-0J710

CYLINDER ASS'Y,LIFT

SN: 55001-UP

1шт.

1

721-13-16110

CYLINDER

SN: 55001-UP

1шт.

2

425-70-31870

BUSHING

SN: 55001-UP

1шт.

3

421-09-11350

SEAL,DUST (KIT)

SN: 55001-UP

2шт.

4

707-27-16960

HEAD,CYLINDER

SN: 55001-UP

1шт.

5

707-52-90960

BUSHING

SN: 55001-UP

1шт.

6

195-63-93170

SEAL,DUST (KIT)

SN: 55001-UP

1шт.

7

07179-13136

RING,SNAP

SN: 55001-UP

1шт.

8

707-51-12030

PACKING,ROD (KIT)

SN: 55001-UP

1шт.

9

707-51-12650

RING,BUFFER (KIT)

SN: 55001-UP

1шт.

10

07179-13126

RING

SN: 55001-UP

1шт.

11

07000-15150

O-RING (KIT)

SN: 55001-UP

1шт.

12

707-35-91640

RING,BACK-UP (KIT)

SN: 55001-UP

1шт.

13

01010-82085

BOLT

SN: 55001-UP

12шт.

14

707-88-75310

WASHER

SN: 55001-UP

12шт.

15

707-59-12170

ROD,PISTON

SN: 55001-UP

1шт.

16

07000-B5110

O-RING (KIT)

SN: 55001-UP

1шт.

17

07001-05110

RING,BACK-UP (KIT)

SN: 55001-UP

2шт.

18

707-36-16710

PISTON

SN: 55001-UP

1шт.

19

707-44-16190

RING,PISTON (KIT)

SN: 55001-UP

1шт.

20

707-39-16120

RING,WEAR (KIT)

SN: 55001-UP

2шт.

21

707-44-16910

RING

SN: 55001-UP

2шт.

22

01310-01225

SCREW

SN: 55001-UP

1шт.

23

707-86-13310

TUBE

SN: 55001-UP

1шт.

24

707-86-13320

TUBE

SN: 55001-UP

1шт.

25

07000-B3035

O-RING (KIT)

SN: 55001-UP

2шт.

26

07372-21060

BOLT

SN: 55001-UP

8шт.

27

01643-51032

WASHER

SN: 55001-UP

8шт.

28

707-88-28310

BRACKET

SN: 55001-UP

1шт.

29

707-88-21660

BAND

SN: 55001-UP

1шт.

30

07372-21240

BOLT

SN: 55001-UP

4шт.

31

01643-51232

WASHER

SN: 55001-UP

4шт.

32

07283-33450

CLIP

SN: 55001-UP

2шт.

33

07283-53444

SEAT

SN: 55001-UP

2шт.

34

01597-01009

NUT

SN: 55001-UP

4шт.

35

01643-31032

WASHER

SN: 55001-UP

4шт.

36

707-88-33040

CAP

SN: 55001-UP

2шт.

37

07371-31049

FLANGE,SPLIT

SN: 55001-UP

4шт.

38

07372-21035

BOLT

SN: 55001-UP

8шт.

39

01643-51032

WASHER

SN: 55001-UP

8шт.

|$$43

SERVICE KIT

-1шт.

K

707-99-68420

SERVICE KIT,LIFT CYLINDER

SN: 55001-UP

1шт.

Выбрано товаров: 0