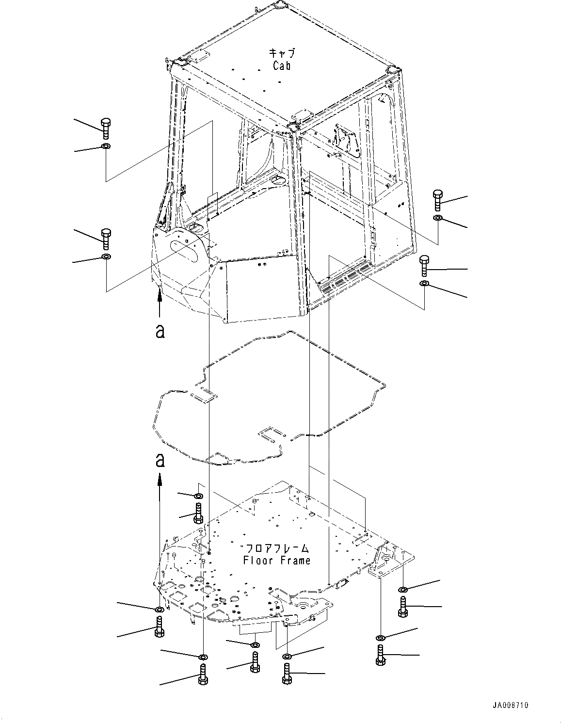
Запчасти Komatsu WA500-6 КАБИНА ROPS, КРЕПЛЕНИЕ ПОЛАING (№9-) КАБИНА ROPS, SEPARATE ТИП, ЭКСТРЕНН. ESКРЫШКАE ПРАВ. ДВЕРЬ, РАМА ОКНА

Схема запчастей Komatsu WA500-6 - КАБИНА ROPS, КРЕПЛЕНИЕ ПОЛАING (№9-) КАБИНА ROPS, SEPARATE ТИП, ЭКСТРЕНН. ESКРЫШКАE ПРАВ. ДВЕРЬ, РАМА ОКНА
2
1
2
1
2
1
2
1
2
1
4
3
4
3
3
4
3
4
3
4
3
4
FIT
1:1
100%

Артикул

Название

Примечание

Количество

1

01010-82055

Bolt

SN: 55924-UP

14шт.

2

01643-32060

Washer

SN: 55924-UP

14шт.

3

01010-81235

Bolt

SN: 55924-UP

15шт.

4

01643-31232

Washer

SN: 55924-UP

15шт.

Выбрано товаров: 4