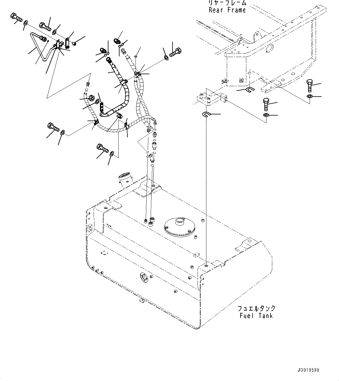
Запчасти Komatsu WA500-6 ТОПЛИВН. БАК., КРЕПЛЕНИЕ (№79-) ТОПЛИВН. БАК., С ТОПЛИВН. БЫСТР. ЗАПРАВ. СИСТЕМА

Схема запчастей Komatsu WA500-6 - ТОПЛИВН. БАК., КРЕПЛЕНИЕ (№79-) ТОПЛИВН. БАК., С ТОПЛИВН. БЫСТР. ЗАПРАВ. СИСТЕМА
4
4
5
3
19
8
10
36
7
35
6
9
29
30
2
3
1
11
12
13
14
15
16
17
18
19
20
22
23
24
25
26
27
28
29
30
31
32
33
34
35
36
21
FIT
1:1
100%

Артикул

Название

Примечание

Количество

1

01010-62470

Bolt

SN: 55479-UP

2шт.

2

01010-62485

Bolt

SN: 55479-UP

2шт.

3

01643-32460

Washer

SN: 55479-UP

4шт.

4

421-926-2930

Shim, T=0.5mm

SN: 55479-UP

8шт.

5

02782-10516

Elbow

SN: 55479-UP

1шт.

6

07002-12034

O-ring

SN: 55479-UP

1шт.

7

02896-11015

O-ring

SN: 55479-UP

1шт.

8

07095-20523

Cushion

SN: 55479-UP

1шт.

9

04434-53211

Clip

SN: 55479-UP

1шт.

10

01010-81035

Bolt

SN: 55479-UP

1шт.

11

01643-31032

Washer

SN: 55479-UP

1шт.

12

02782-10516

Elbow

SN: 55479-UP

1шт.

13

07002-12034

O-ring

SN: 55479-UP

1шт.

14

02896-11015

O-ring

SN: 55479-UP

2шт.

15

425-04-31170

Hose

SN: 55479-UP

1шт.

16

07095-20523

Cushion

SN: 55479-UP

1шт.

17

04434-53211

Clip

SN: 55479-UP

1шт.

18

425-04-31221

Tube

SN: 55479-UP

1шт.

19

02896-11009

O-ring

SN: 55479-UP

2шт.

20

425-04-31521

Plate

SN: 55479-UP

1шт.

21

423-54-11340

Spacer

SN: 55479-UP

1шт.

22

01010-81040

Bolt

SN: 55479-UP

1шт.

23

01643-31032

Washer

SN: 55479-UP

1шт.

24

07094-10315

Clamp

SN: 55479-UP

2шт.

25

07095-00314

Cushion

SN: 55479-UP

1шт.

26

01010-81060

Bolt

SN: 55479-UP

1шт.

27

01643-31032

Washer

SN: 55479-UP

1шт.

28

02896-11009

O-ring

SN: 55479-UP

1шт.

29

01010-81020

Bolt

SN: 55479-UP

1шт.

30

01643-31032

Washer

SN: 55479-UP

1шт.

31

425-04-31180

Bracket

SN: 55479-UP

1шт.

32

07283-32236

Clip, Pipe

SN: 55479-UP

1шт.

33

01643-31032

Washer

SN: 55479-UP

2шт.

34

01597-01009

Nut

SN: 55479-UP

2шт.

35

07095-20419

Cushion

SN: 55479-UP

2шт.

36

04434-52711

Clip

SN: 55479-UP

2шт.

Выбрано товаров: 0