Запчасти Komatsu WA500-6 K-A УПРАВЛЕНИЕ ПОГРУЗКОЙ ПРАВ. БЕЗОПАСН. BAR OPERATORXD S ОБСТАНОВКА И СИСТЕМА УПРАВЛЕНИЯ

Схема запчастей Komatsu WA500-6 - K-A УПРАВЛЕНИЕ ПОГРУЗКОЙ ПРАВ. БЕЗОПАСН. BAR OPERATORXD S ОБСТАНОВКА И СИСТЕМА УПРАВЛЕНИЯ
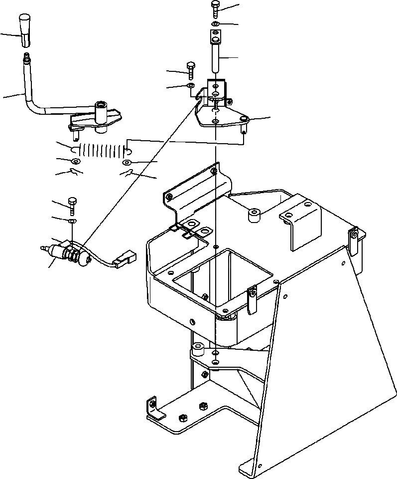
11
12
4
10
8
9
3
1
5
6
6
7
7
14
15
13
2
FIT
1:1
100%

Артикул

Название

Примечание

Количество

1

426-43-38372

BRACKET

SN: A92001--UP

1шт.

2

421-S33-3282

SWITCH

SN: A92001--UP

1шт.

3

425-43-39522

LEVER

SN: A92001--UP

1шт.

N/I

04205-11032

PIN

SN: A92001--UP

1шт.

N/I

421-09-21220

BUSHING

SN: A92001--UP

2шт.

4

09305-00800

KNOB

SN: A92001--UP

1шт.

5

20Y-43-22330

SPRING

SN: A92001--UP

1шт.

6

01640-21016

WASHER

SN: A92001--UP

2шт.

7

04052-11038

PIN, SNAP

SN: A92001--UP

2шт.

8

01010-81025

BOLT

SN: A92001--UP

2шт.

9

01643-31032

WASHER

SN: A92001--UP

2шт.

10

426-43-38390

PIN

SN: A92001--UP

1шт.

11

01010-80820

BOLT

SN: A92001--UP

1шт.

12

01643-30823

WASHER

SN: A92001--UP

1шт.

13

04434-50610

CLIP

SN: A92001--UP

1шт.

14

01010-81016

BOLT

SN: A92001--UP

1шт.

15

01643-31032

WASHER

SN: A92001--UP

1шт.

Выбрано товаров: 17