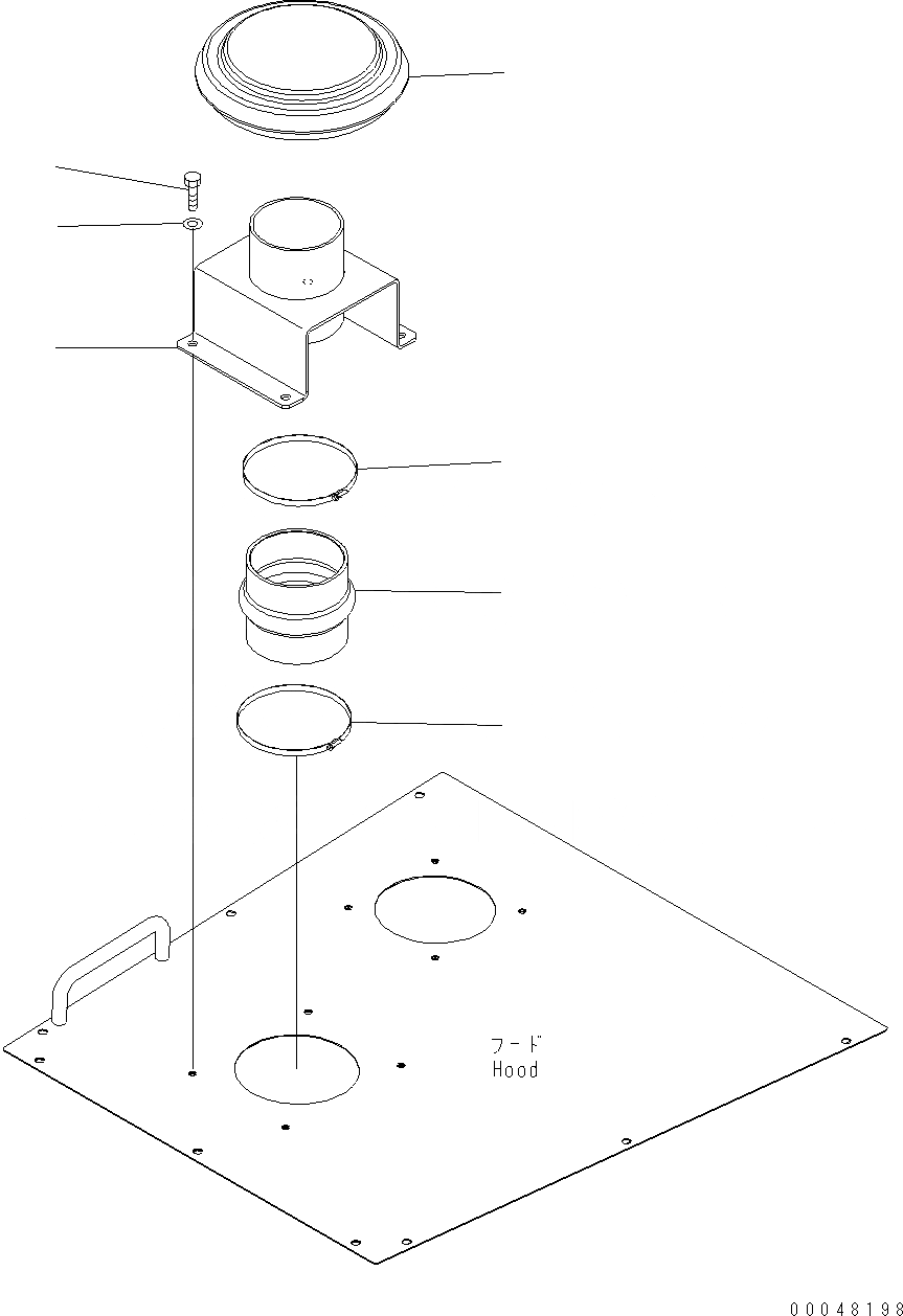
Запчасти Komatsu WA500-6 EXTENSION (ВПУСК ВОЗДУХА) B КОМПОНЕНТЫ ДВИГАТЕЛЯ

Схема запчастей Komatsu WA500-6 - EXTENSION (ВПУСК ВОЗДУХА) B КОМПОНЕНТЫ ДВИГАТЕЛЯ
2
3
1
4
6
5
6
FIT
1:1
100%

Артикул

Название

Примечание

Количество

1

425-01-33111

BRACKET

SN: H60051-UP

1шт.

2

01010-81230

BOLT

SN: H60051-UP

4шт.

3

124-54-26540

WASHER

SN: H60051-UP

4шт.

4

600-181-3960

CAP

SN: H60051-UP

1шт.

5

600-181-0680

HOSE

SN: H60051-UP

1шт.

6

07281-02169

CLAMP

SN: H60051-UP

2шт.

Выбрано товаров: 6