Запчасти Komatsu WA500-6R РАДИАТОР, ВОЗДУШН. ВЕНТИЛЯЦИЯ (№-) РАДИАТОР, С КАБИНОЙ ОБОГРЕВАТЕЛЬ.

Схема запчастей Komatsu WA500-6R - РАДИАТОР, ВОЗДУШН. ВЕНТИЛЯЦИЯ (№-) РАДИАТОР, С КАБИНОЙ ОБОГРЕВАТЕЛЬ.
5
6
7
9
10
11
12
8
3
4
3
16
15
16
17
18
20
19
19
18
17
21
20
1
2
3
4
13
14
22
FIT
1:1
100%

Артикул

Название

Примечание

Количество

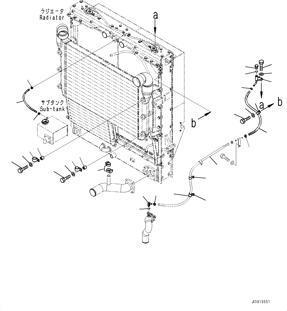
1

425-03-32431

Elbow

SN: 60010-UP

1шт.

2

07002-11423

O-ring

SN: 60010-UP

1шт.

3

11Y-09-11140

Clip

SN: 60010-UP

3шт.

4

04434-51610

Clip

SN: 60010-UP

2шт.

5

01010-81020

Bolt

SN: 60010-UP

3шт.

6

01643-31032

Washer

SN: 60010-UP

3шт.

7

425-03-31661

Tube

SN: 60010-UP

1шт.

8

07040-10807

Plug

SN: 60010-UP

1шт.

9

07002-10823

O-ring

SN: 60010-UP

1шт.

10

09483-10306

Hose

SN: 60010-UP

1шт.

11

01010-81020

Bolt

SN: 60010-UP

2шт.

12

01643-31032

Washer

SN: 60010-UP

2шт.

13

04434-52110

Clip

SN: 60010-UP

1шт.

14

07095-20314

Cushion

SN: 60010-UP

1шт.

15

425-03-35910

Hose

SN: 60010-UP

1шт.

15

425-03-31910

Hose

SN: 60010-60017

1шт.

16

07285-00155

Clip

SN: 60018-UP

2шт.

16

11Y-09-11130

Clamp

SN: 60010-60017

2шт.

17

425-03-35950

Clip

SN: 60018-UP

2шт.

17

04434-53212

Clip

SN: 60010-60017

2шт.

18

01010-81240

Bolt

SN: 60010-UP

2шт.

19

01643-31232

Washer

SN: 60010-UP

2шт.

20

566-16-11390

Boss

SN: 60010-UP

2шт.

21

07289-00055

Clamp

SN: 60018-UP

2шт.

21

07289-00035

Clamp

SN: 60010-60017

2шт.

22

425-03-31692

Hose

SN: UP

-1шт.

|$26

425-03-31692

Hose

SN: UP

-1шт.

Выбрано товаров: 27