Запчасти Komatsu WA500-7 ЗАДН. КОНСОЛЬ COVER, ДЖОЙСТИК СИСТЕМАУПРАВЛЕНИЯ ПОВОРОТОМ, КОНСОЛЬН. БЛОК, ЛЕВ. ЗАДН. КОНСОЛЬ COVER, ДЖОЙСТИК СИСТЕМАУПРАВЛЕНИЯ ПОВОРОТОМ

Схема запчастей Komatsu WA500-7 - ЗАДН. КОНСОЛЬ COVER, ДЖОЙСТИК СИСТЕМАУПРАВЛЕНИЯ ПОВОРОТОМ, КОНСОЛЬН. БЛОК, ЛЕВ. ЗАДН. КОНСОЛЬ COVER, ДЖОЙСТИК СИСТЕМАУПРАВЛЕНИЯ ПОВОРОТОМ
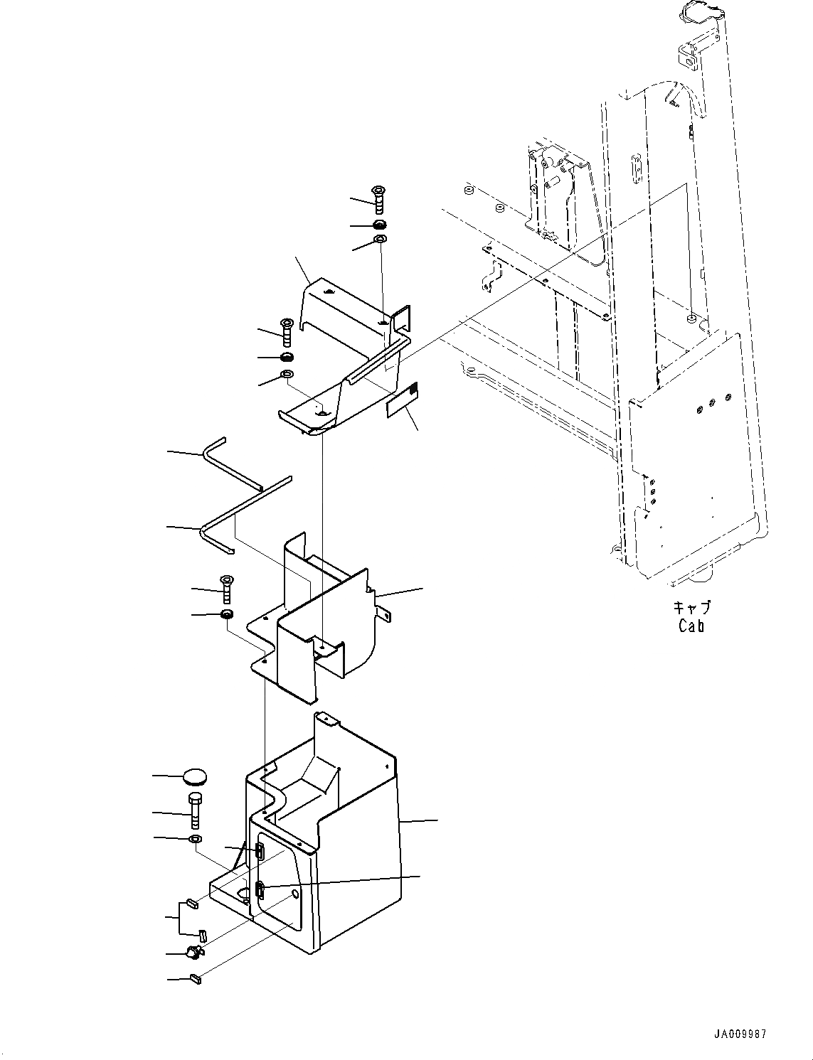
1
11
10
8
7
11
9
12
13
19
2
2
3
4
14
4
5
6
17
18
15
16
FIT
1:1
100%

Артикул

Название

Примечание

Количество

1

425-S33-5821

Case

SN: 10001-UP

1шт.

2

421-09-21360

Hinge

SN: 10001-UP

2шт.

3

23A-952-1630

Lock

SN: 10001-UP

1шт.

4

423-54-52191

Sheet

SN: 10001-UP

3шт.

5

01010-81050

Bolt

SN: 10001-UP

3шт.

6

01643-31032

Washer

SN: 10001-UP

3шт.

7

425-S33-5812

Cover

SN: 10001-UP

1шт.

8

421-926-5950

Fastener

SN: 10001-UP

1шт.

9

01240-00616

Screw

SN: 10001-UP

2шт.

10

01240-00620

Screw

SN: 10001-UP

1шт.

11

23S-55-51970

Washer

SN: 10001-UP

3шт.

12

20Y-43-41290

Collar

SN: 10001-UP

2шт.

13

20Y-53-12310

Collar

SN: 10001-UP

1шт.

14

425-S33-5831

Case

SN: 10001-UP

1шт.

15

01240-00616

Screw

SN: 10001-UP

5шт.

16

23S-55-51970

Washer

SN: 10001-UP

5шт.

17

425-S33-5840

Finisher

SN: 10001-UP

1шт.

18

423-54-52870

Finisher

SN: 10001-UP

1шт.

19

09415-03614

Cap

SN: 10001-UP

1шт.

Выбрано товаров: 19