Запчасти Komatsu WA500-7 ТОРМОЗ. COMPO КОРПУС, ПРОВОДКА ТОРМОЗ. COMPO КОРПУС

Схема запчастей Komatsu WA500-7 - ТОРМОЗ. COMPO КОРПУС, ПРОВОДКА ТОРМОЗ. COMPO КОРПУС
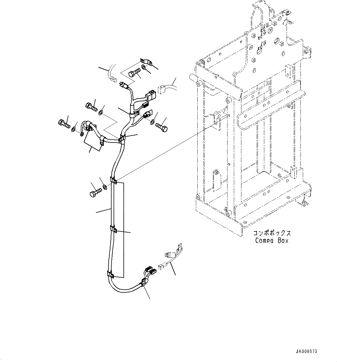
1
3
4
2
8
7
8
2
7
8
7
6
5
8
7
3
3
9
11
10
FIT
1:1
100%

Артикул

Название

Примечание

Количество

1

425-06-42240

Wiring Harness

SN: 10001-UP

1шт.

1

21J-06-13661

Diode

SN: 10001-UP

1шт.

2

04434-51710

Clip

SN: 10001-UP

2шт.

3

04434-51410

Clip

SN: 10001-UP

6шт.

4

08193-20010

Clip

SN: 10001-UP

1шт.

5

01010-81016

Bolt

SN: 10001-UP

1шт.

6

01643-31032

Washer

SN: 10001-UP

1шт.

7

01010-81020

Bolt

SN: 10001-UP

9шт.

8

01643-31032

Washer

SN: 10001-UP

9шт.

9

421-43-32912

Switch, Pressure

-1шт.

10

425-06-42120

Wiring Harness

-1шт.

11

425-06-42270

Wiring Harness

-1шт.

Выбрано товаров: 12