Запчасти Komatsu WA500-7 КАБИНА ROPS И ОСНОВН. КОНСТРУКЦИЯ ГРУППА, КРЕПЛЕНИЕ КАБИНЫ (№-) КАБИНА ROPS И ОСНОВН. КОНСТРУКЦИЯ ГРУППА, С ДЖОЙСТИК СИСТЕМАУПРАВЛЕНИЯ ПОВОРОТОМ, БЕЗ АВТОМАТИЧ.-СИСТ. СМАЗКИ СИСТЕМА

Схема запчастей Komatsu WA500-7 - КАБИНА ROPS И ОСНОВН. КОНСТРУКЦИЯ ГРУППА, КРЕПЛЕНИЕ КАБИНЫ (№-) КАБИНА ROPS И ОСНОВН. КОНСТРУКЦИЯ ГРУППА, С ДЖОЙСТИК СИСТЕМАУПРАВЛЕНИЯ ПОВОРОТОМ, БЕЗ АВТОМАТИЧ.-СИСТ. СМАЗКИ СИСТЕМА
4
5
2
3
1
5
4
4
5
2
3
FIT
1:1
100%

Артикул

Название

Примечание

Количество

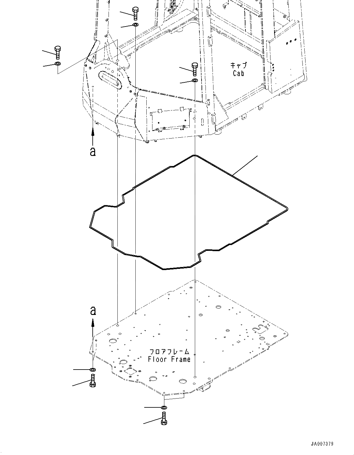
1

421-926-5740

Seal

SN: 10001-UP

1шт.

2

01010-82060

Bolt

SN: 10001-UP

6шт.

3

01643-32060

Washer

SN: 10001-UP

6шт.

4

01010-81235

Bolt

SN: 10001-UP

14шт.

5

01643-31232

Washer

SN: 10001-UP

14шт.

Выбрано товаров: 5