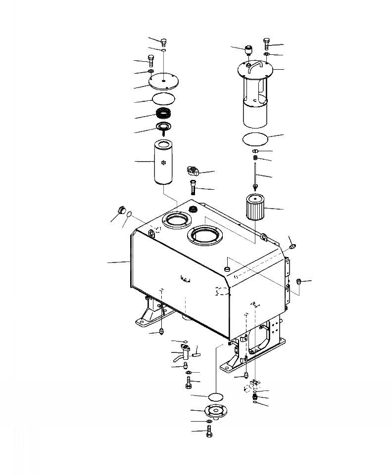
Запчасти Komatsu WA500-7 H-A ГИДР. БАК. ГИДРАВЛИКА

Схема запчастей Komatsu WA500-7 - H-A ГИДР. БАК. ГИДРАВЛИКА
14
18
15
6
19
12
16
13
11
10
9
8
17
22
7
21
2
20
3
23
4
24
5
1
24
24
33
37
32
36
35
24
34
31
26
29
30
25
28
27
FIT
1:1
100%

Артикул

Название

Примечание

Количество

1

425-60-45110

TANK, HYDRAULIC OIL

1шт.

2

07092-01000

CAP, OIL FILLER

1шт.

3

07056-10045

STRAINER

1шт.

4

421-60-11622

GAUGE, SIGHT

1шт.

5

07002-65234

O-RING

1шт.

6

419-60-15231

BREATHER ASSEMBLY

1шт.

N/I

419-60-15370

O-RING

2шт.

N/I

419-60-15380

O-RING

1шт.

N/I

419-60-15390

O-RING

1шт.

N/I

285-62-17320

ELEMENT

1шт.

N/I

424-60-15220

RING, SNAP

1шт.

7

209-60-77531

FILTER, ELEMENT

1шт.

8

20Y-60-31131

VALVE ASSEMBLY

1шт.

9

07069-34075

SPRING

1шт.

10

07000-B5180

O-RING

1шт.

11

425-60-35160

COVER

1шт.

12

01010-81235

BOLT

3шт.

13

01643-31232

WASHER

3шт.

14

424-60-15150

PLUG

1шт.

15

07000-B2010

O-RING

1шт.

16

425-60-45850

COVER

1шт.

17

07000-B5230

O-RING

1шт.

18

01010-81230

BOLT

4шт.

19

01643-31232

WASHER

4шт.

20

425-60-35861

SUPPORT

1шт.

21

12R-60-11230

SPRING

1шт.

22

421-54-34550

WASHER

1шт.

23

56B-60-11270

STRAINER

1шт.

24

02721-11617

PLUG

4шт.

25

425-60-45190

TUBE

1шт.

26

07000-B2120

O-RING

1шт.

27

01010-81235

BOLT

4шт.

28

01643-31232

WASHER

4шт.

29

02781-00628

ELBOW

1шт.

30

02896-61015

O-RING

1шт.

31

07002-62434

O-RING

1шт.

32

425-60-45550

TUBE

1шт.

33

07000-B3028

O-RING

1шт.

34

01010-81040

BOLT

2шт.

35

01643-31032

WASHER

2шт.

36

419-60-35220

PLUG

1шт.

37

04020-00514

PIN, DOWEL

1шт.

Выбрано товаров: 42