Запчасти Komatsu WA500-7 K-A ЗАДН. ЛЕВ. КОНСОЛЬН. БЛОК КРЫШКАДЖОЙСТИК СИСТЕМАУПРАВЛЕНИЯ ПОВОРОТОМ OPERATORXD S ОБСТАНОВКА И СИСТЕМА УПРАВЛЕНИЯ

Схема запчастей Komatsu WA500-7 - K-A ЗАДН. ЛЕВ. КОНСОЛЬН. БЛОК КРЫШКАДЖОЙСТИК СИСТЕМАУПРАВЛЕНИЯ ПОВОРОТОМ OPERATORXD S ОБСТАНОВКА И СИСТЕМА УПРАВЛЕНИЯ
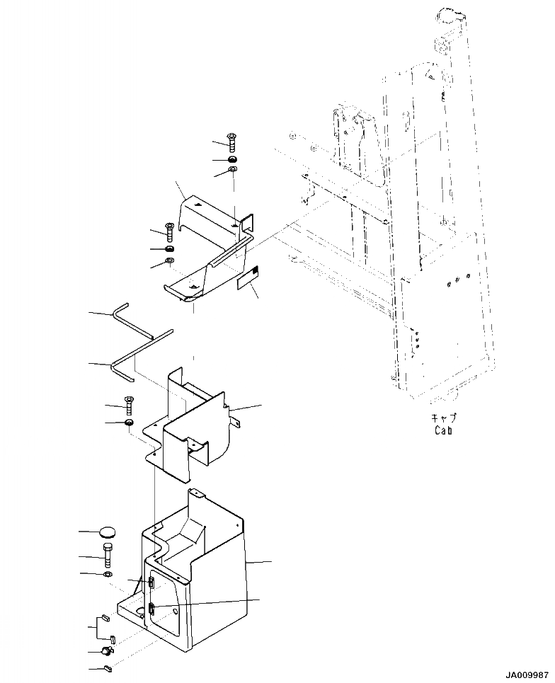
4
3
4
2
6
5
19
16
15
17
18
13
11
10
12
7
11
9
8
14
1
2
FIT
1:1
100%

Артикул

Название

Примечание

Количество

1

425-S33-5821

CASE

1шт.

2

421-09-21360

HINGE, WELDED

4шт.

3

23A-952-1630

LOCK

1шт.

4

423-54-52191

SHEET

3шт.

5

01010-81050

BOLT

3шт.

6

01643-31032

WASHER

3шт.

7

425-S33-5812

COVER

1шт.

8

421-926-5950

FASTENER

1шт.

9

01240-00616

SCREW

2шт.

10

01240-00620

SCREW

2шт.

11

23S-55-51970

WASHER

4шт.

12

20Y-43-41290

COLLAR

2шт.

13

20Y-53-12310

COLLAR

2шт.

14

425-S33-5831

CASE

1шт.

15

01240-00616

SCREW

4шт.

16

23S-55-51970

WASHER

4шт.

17

425-S33-5840

FINISHER

2шт.

18

423-54-52870

FINISHER

1шт.

19

09415-03614

CAP

1шт.

Выбрано товаров: 19