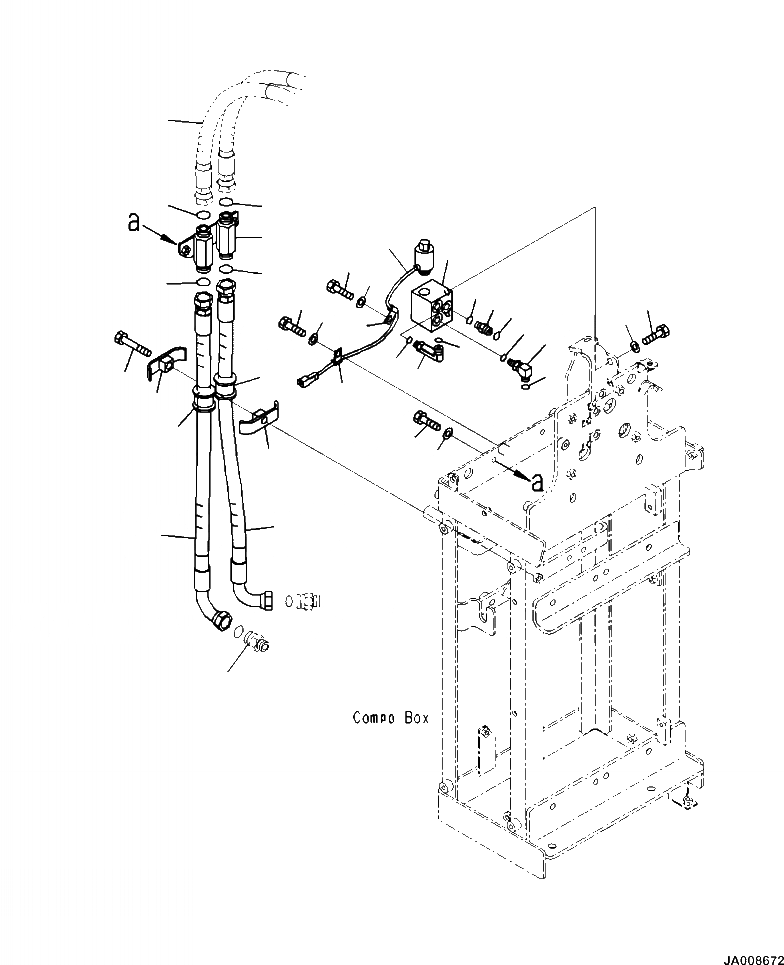
Запчасти Komatsu WA500-7 K7-8A ТОРМОЗ. COMPONENT КОРПУС ОТСЕКАЮЩ. КЛАПАН И ТОРМОЗНАЯ ГИДРОЛИНИЯ OPERATORXD S ОБСТАНОВКА И СИСТЕМА УПРАВЛЕНИЯ

Схема запчастей Komatsu WA500-7 - K7-8A ТОРМОЗ. COMPONENT КОРПУС ОТСЕКАЮЩ. КЛАПАН И ТОРМОЗНАЯ ГИДРОЛИНИЯ OPERATORXD S ОБСТАНОВКА И СИСТЕМА УПРАВЛЕНИЯ
24
16
15
21
22
21
23
22
18
18
17
18
25
18
1
13
14
13
14
12
12
19
20
4
8
9
6
7
11
10
5
6
3
5
2
FIT
1:1
100%

Артикул

Название

Примечание

Количество

|$0

421-60-31800

VALVE ASSEMBLY

1шт.

1

20Y-60-11713

VALVE, SOLENOID

1шт.

2

20Y-60-11810

BLOCK

1шт.

3

02781-0031D

NIPPLE

1шт.

4

02782-10312

ELBOW

1шт.

5

07002-61423

O-RING

2шт.

6

02896-61009

O-RING

2шт.

7

8296-62-2161

ELBOW

1шт.

8

07002-61423

O-RING

1шт.

9

02896-61009

O-RING

1шт.

10

01010-81225

BOLT

2шт.

11

01643-31232

WSHER

2шт.

12

04434-50610

CLIP

2шт.

13

01010-81016

BOLT

2шт.

14

01643-31032

WASHER

2шт.

15

425-43-49180

HOSE

1шт.

16

425-43-48170

HOSE

1шт.

17

425-43-47980

JOINT

1шт.

18

02896-61018

O-RING

4шт.

19

01010-81025

BOLT

2шт.

20

01643-31032

WASHER

2шт.

21

425-43-48210

CLAMP

2шт.

22

07095-00628

CUSHION

2шт.

23

01010-81275

BOLT

1шт.

24

UNION (SEE FIG. K4470-03A0)

-1шт.

25

HOSE (SEE FIG. K0210-24A0 )

-1шт.

Выбрано товаров: 26