Запчасти Komatsu WA500-7 T-A КОВШ - V-ОБРАЗН ROCK .7 CU. M. (. CU. M. С СЕГМЕНТНОЙ КРОМКОЙ) TIP TOOTH РАБОЧЕЕ ОБОРУДОВАНИЕ

Схема запчастей Komatsu WA500-7 - T-A КОВШ - V-ОБРАЗН ROCK .7 CU. M. (. CU. M. С СЕГМЕНТНОЙ КРОМКОЙ) TIP TOOTH РАБОЧЕЕ ОБОРУДОВАНИЕ
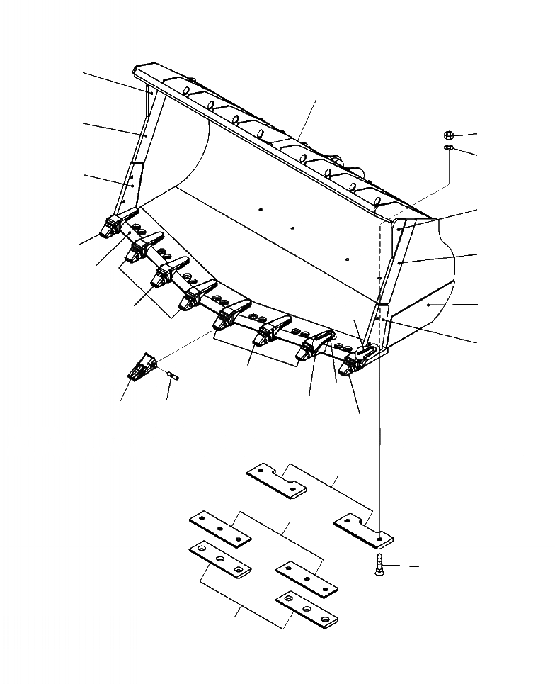
12
1
6
19
18
5
12
15
6
3
7
10
13
4
13
9
21
11
20
14
16
8
17
2
FIT
1:1
100%

Артикул

Название

Примечание

Количество

|$0

425-819-3102

BUCKET ASSEMBLY

1шт.

1

425-819-3112

BUCKET

1шт.

2

425-70-32191

PLATE (WELDED)

2шт.

3

425-819-2230

EDGE (WELDED)

1шт.

4

425-819-3120

PLATE, L.H. (WELDED)

1шт.

5

425-819-3130

PLATE, R.H. (WELDED)

1шт.

6

425-819-3150

PLATE (WELDED)

2шт.

7

425-819-3160

PLATE (WELDED)

2шт.

8

425-819-3181

PLATE (WELDED)

2шт.

9

425-847-1170

PLATE (WELDED)

6шт.

10

425-847-1180

PLATE (WELDED)

2шт.

11

425-847-1230

PLATE (WELDED)

4шт.

12

426-819-3270

PLATE (WELDED)

2шт.

13

426-847-1121

ADAPTER (WELDED)

6шт.

14

426-848-1121

ADAPTER, L.H. (WELDED)

1шт.

15

426-848-1131

ADAPTER, R.H. (WELDED)

1шт.

16

425-70-32162

PLATE

2шт.

17

02091-12005

BOLT

4шт.

18

01643-33380

WASHER

4шт.

19

02290-12031

NUT

4шт.

20

426-847-1110

TOOTH

8шт.

21

426-847-1130

PIN

8шт.

Выбрано товаров: 22