Запчасти Komatsu WA60-1 SOUNDЗАЩИТА ПРИВОДRS КАБИНА

Схема запчастей Komatsu WA60-1 - SOUNDЗАЩИТА ПРИВОДRS КАБИНА
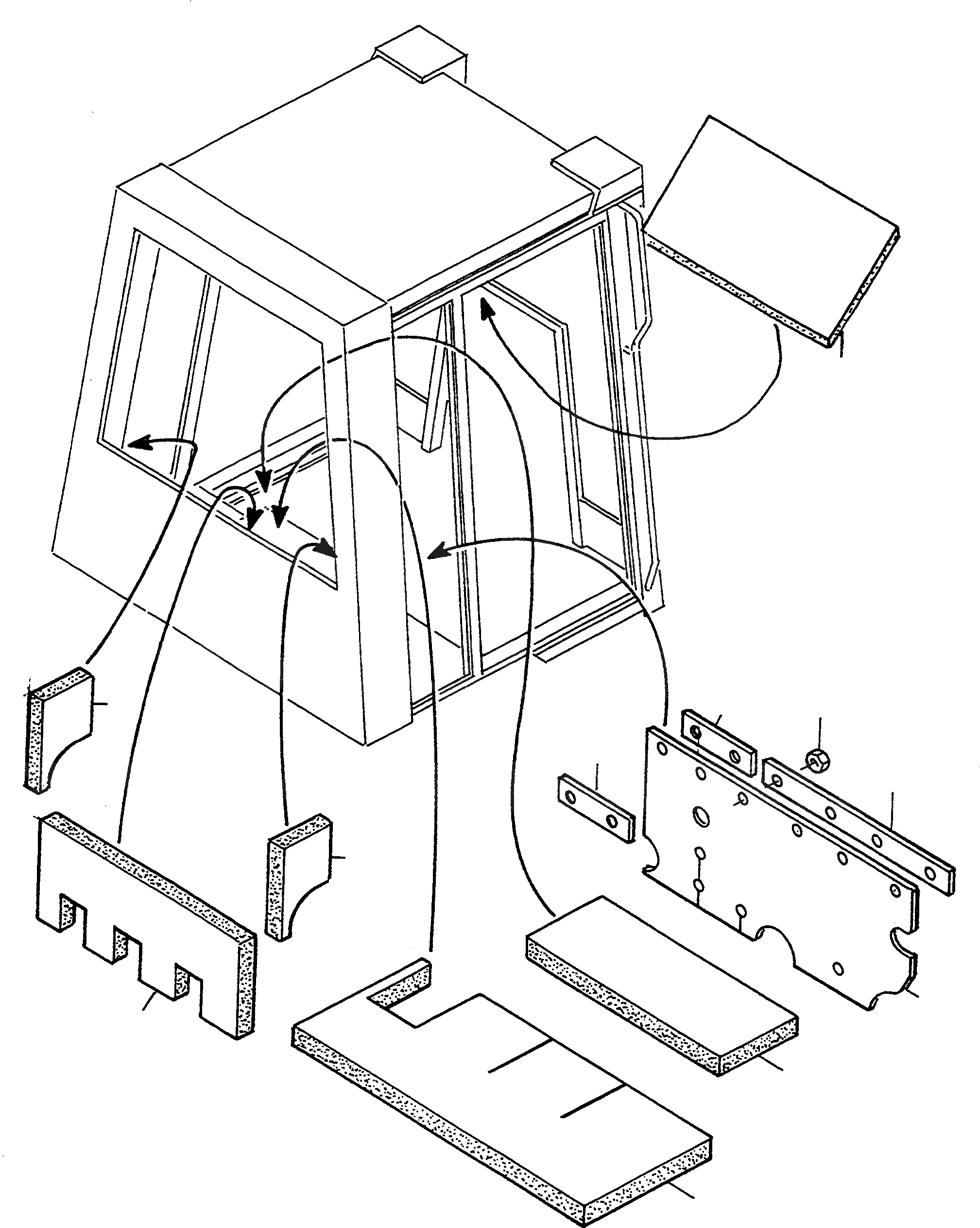
4
10
7
5
9
7
8
1
6
2
3
FIT
1:1
100%

Артикул

Название

Примечание

Количество

1

4251032M1

INSULATING MAT

1шт.

2

4250525M1

INSULATING MAT

1шт.

3

4250526M1

INSULATING MAT

1шт.

4

4250524M1

INSULATING MAT

1шт.

5

4250527M1

INSULATING MAT

1шт.

6

4250523M1

INSULATING MAT

1шт.

7

4241033M1

BRACKET

1шт.

8

4241034M1

BRACKET

1шт.

9

1444316X1

NUT

6шт.

10

4918653M1

INSULATING MAT

1шт.

Выбрано товаров: 10