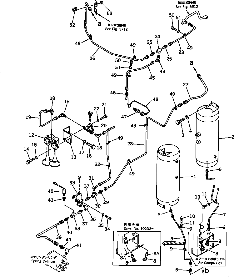
Запчасти Komatsu WA600-1 ВОЗДУХОВОД (СУХ. БАК - СТОЯНОЧНЫЙ ТОРМОЗ И ЗВУК. СИГНАЛ.) (СПЕЦ-Я TBG)(№-.) ВЕДУЩ. ВАЛ¤ ДИФФЕРЕНЦ. И КОЛЕСА

Схема запчастей Komatsu WA600-1 - ВОЗДУХОВОД (СУХ. БАК - СТОЯНОЧНЫЙ ТОРМОЗ И ЗВУК. СИГНАЛ.) (СПЕЦ-Я TBG)(№-.) ВЕДУЩ. ВАЛ¤ ДИФФЕРЕНЦ. И КОЛЕСА
FIT
1:1
100%

Артикул

Название

Примечание

Количество

1

426-35-15320

TANK,DRY AIR

SN: 10001-@

1шт.

2

426-35-15350

TANK,DRY AIR

SN: 10001-@

1шт.

3

01010-51225

BOLT

SN: 10001-@

8шт.

4

01643-31232

WASHER

SN: 10001-@

8шт.

5

426-35-11730

TUBE

SN: 10001-@

1шт.

6

07214-70710

CONNECTOR

SN: 10001-@

4шт.

6

0

CONNECTOR

SN: (10001-10278)

4шт.

7

426-35-11762

TUBE

SN: 10001-@

1шт.

8

22X-44-11210

VALVE

SN: 10232-@

2шт.

8

0

VALVE ASS'Y

SN: 10001-10231

2шт.

|$$11

(22X-44-11210,424-35-12630)

-1шт.

8A

424-35-12630

CONNECTOR

SN: 10232-@

2шт.

9

425-70-13120

CLIP

SN: 10001-@

3шт.

10

01010-51020

BOLT

SN: 10001-@

3шт.

11

01643-31032

WASHER

SN: 10001-@

3шт.

12

281-34-13900

HORN,AIR

SN: 10001-10685

1шт.

13

426-35-15170

BRACKET

SN: 10001-10685

1шт.

14

01010-51020

BOLT

SN: 10001-10685

2шт.

15

01643-31032

WASHER

SN: 10001-10685

2шт.

16

01010-51225

BOLT

SN: 10001-10685

2шт.

17

01643-31232

WASHER

SN: 10001-@

2шт.

18

07217-51013

ELBOW

SN: 10001-10685

3шт.

19

421-35-12880

TUBE

SN: 10001-10685

1шт.

20

421-35-15410

VALVE,HORN

SN: 10001-10685

1шт.

21

01010-50820

BOLT

SN: 10001-@

2шт.

22

01643-30823

WASHER

SN: 10001-@

2шт.

23

426-35-11431

TUBE

SN: 10001-@

1шт.

24

07324-90200

TEE

SN: 10001-@

1шт.

24

0

TEE

SN: (10001-10278)

1шт.

25

07214-71013

CONNECTOR

SN: 10001-@

2шт.

25

0

CONNECTOR

SN: (10001-10278)

2шт.

26

426-35-11421

TUBE

SN: 10001-@

1шт.

27

07102-20206

HOSE

SN: 10001-@

1шт.

28

426-35-11391

TUBE

SN: 10001-@

1шт.

29

07214-71013

CONNECTOR

SN: 10001-@

1шт.

29

0

CONNECTOR

SN: (10001-10278)

1шт.

30

07324-90200

TEE

SN: 10001-@

1шт.

30

0

TEE

SN: (10001-10278)

1шт.

31

07217-71013

ELBOW

SN: 10001-10685

1шт.

31

0

ELBOW

SN: (10001-10278)

1шт.

32

426-35-11532

TUBE

SN: 10223-10685

1шт.

32

0

TUBE

SN: 10001-10222

1шт.

33

425-06-11150

VALVE,PARKING BRAKE

SN: 10001-@

1шт.

34

01220-40816

SCREW

SN: 10001-@

2шт.

35

01602-20825

WASHER,SPRING

SN: 10001-@

2шт.

36

07323-B0200

ELBOW

SN: 10001-@

1шт.

36

0

ELBOW

SN: (10001-10278)

1шт.

37

07324-10200

TEE

SN: 10001-@

2шт.

37

0

NIPPLE

SN: (10001-10278)

2шт.

38

07324-90200

TEE

SN: 10001-@

1шт.

38

0

TEE

SN: (10001-10278)

1шт.

39

07102-20206

HOSE

SN: 10001-@

1шт.

40

07238-00210

CONNECTOR

SN: 10001-@

2шт.

41

07323-B0200

ELBOW

SN: 10001-@

1шт.

41

0

ELBOW

SN: (10001-10278)

1шт.

42

7861-99-1500

SENSOR,AIR PRESSURE

SN: 10001-@

1шт.

43

07326-30201

ADAPTER

SN: 10001-@

1шт.

43

0

ADAPTER

SN: (10001-10278)

1шт.

44

07217-71013

ELBOW

SN: 10001-@

1шт.

44

0

ELBOW

SN: (10001-10278)

1шт.

45

426-35-11440

TUBE

SN: 10001-@

1шт.

46

07214-71013

CONNECTOR

SN: 10001-@

1шт.

46

0

CONNECTOR

SN: (10001-10278)

1шт.

47

07880-10500

SOCKET,COUPLING

SN: 10001-@

1шт.

48

426-35-15410

CAP

SN: 10001-@

1шт.

49

424-04-11120

CLIP

SN: 10001-@

8шт.

50

01010-51030

BOLT

SN: 10001-@

3шт.

51

01643-31032

WASHER

SN: 10001-@

3шт.

52

07283-21022

CLIP

SN: 10001-@

1шт.

53

01598-00608

NUT

SN: 10001-@

2шт.

Выбрано товаров: 70