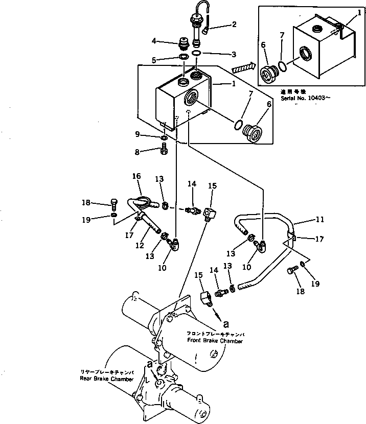
Запчасти Komatsu WA600-1 ТОРМОЗ. МАСЛОПРОВОДЯЩАЯ ЛИНИЯ (БАК - КАМЕРА) (СПЕЦ-Я TBG) ВЕДУЩ. ВАЛ¤ ДИФФЕРЕНЦ. И КОЛЕСА

Схема запчастей Komatsu WA600-1 - ТОРМОЗ. МАСЛОПРОВОДЯЩАЯ ЛИНИЯ (БАК - КАМЕРА) (СПЕЦ-Я TBG) ВЕДУЩ. ВАЛ¤ ДИФФЕРЕНЦ. И КОЛЕСА
FIT
1:1
100%

Артикул

Название

Примечание

Количество

1

426-35-15552

TANK,BRAKE OIL

SN: 10403-UP

1шт.

1

426-35-15551

TANK,BRAKE OIL

SN: 10245-10402

1шт.

1

426-35-15550

TANK,BRAKE OIL

SN: 10222-10244

1шт.

1

421-35-13340

TANK,BRAKE OIL

SN: 10001-10221

1шт.

2

7861-91-4150

SENSOR,BRAKE OIL LEVEL

SN: .-UP

1шт.

2

0

SENSOR,BRAKE OIL LEVEL

SN: 10001-.

1шт.

3

07002-23634

O-RING

SN: 10001-UP

1шт.

4

07030-03034

BREATHER

SN: 10001-UP

1шт.

5

07005-03016

GASKET

SN: 10001-UP

1шт.

6

421-60-11622

GAUGE,SIGHT

SN: 10343-UP

1шт.

6

0

GAUGE,SIGHT

SN: 10158-10342

1шт.

6

0

GAUGE,SIGHT

SN: 10001-10157

1шт.

7

07002-05234

O-RING

SN: 10001-UP

1шт.

8

01010-51225

BOLT

SN: 10001-UP

4шт.

9

01643-31232

WASHER

SN: 10001-UP

4шт.

10

425-35-11660

ELBOW

SN: 10001-UP

2шт.

11

07260-21480

HOSE

SN: 10001-UP

1шт.

12

07260-21440

HOSE

SN: 10200-UP

1шт.

12

0

HOSE

SN: 10001-10199

1шт.

13

07281-00259

CLAMP

SN: 10001-UP

4шт.

14

425-35-11650

NIPPLE

SN: 10001-UP

2шт.

15

565-44-15380

ELBOW

SN: 10001-UP

2шт.

16

426-09-11230

GROMMET

SN: 10001-UP

1шт.

17

08036-02514

CLIP

SN: 10001-UP

2шт.

18

01010-51020

BOLT

SN: 10001-UP

2шт.

19

01643-31032

WASHER

SN: 10001-UP

2шт.

Выбрано товаров: 26