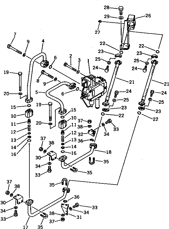
Запчасти Komatsu WA600-1 РУЛЕВ. УПРАВЛЕНИЕ МАСЛОПРОВОДЯЩАЯ ЛИНИЯ (КЛАПАН ЛИНИЯ) РУЛЕВ. УПРАВЛЕНИЕ И СИСТЕМА УПРАВЛЕНИЯ

Схема запчастей Komatsu WA600-1 - РУЛЕВ. УПРАВЛЕНИЕ МАСЛОПРОВОДЯЩАЯ ЛИНИЯ (КЛАПАН ЛИНИЯ) РУЛЕВ. УПРАВЛЕНИЕ И СИСТЕМА УПРАВЛЕНИЯ
FIT
1:1
100%

Артикул

Название

Примечание

Количество

1

702-23-23001

VALVE ASS'Y,STEERING DEMAND

SN: 11076-UP

1шт.

1

702-23-23000

VALVE ASS'Y,STEERING DEMAND

SN: 10001-11075

1шт.

1A

426-62-13360

PLATE

SN: 10932-UP

1шт.

1B

418-54-13161

CUSHION

SN: 10932-UP

3шт.

1C

418-54-13151

CUSHION

SN: 10932-UP

6шт.

1D

566-35-42430

PLATE

SN: 10932-UP

6шт.

1E

428-64-15110

COLLAR

SN: 10932-UP

3шт.

1F

01011-61260

BOLT

SN: 10932-UP

3шт.

1G

01643-31232

WASHER

SN: 10932-UP

3шт.

1H

01596-01211

NUT,LOCK

SN: 10932-UP

3шт.

2

01435-01225

BOLT

SN: 10932-UP

4шт.

2

01011-61225

BOLT

SN: 10001-10931

3шт.

3

01643-31232

WASHER

SN: 10001-10931

3шт.

4

426-62-12112

TUBE

SN: 10001-UP

1шт.

5

426-62-12192

TUBE

SN: 10001-UP

1шт.

6

07000-13035

O-RING

SN: 10001-UP

2шт.

7

01010-81095

BOLT

SN: 10001-UP

4шт.

8

01010-81075

BOLT

SN: 10001-UP

4шт.

9

01643-51032

WASHER

SN: 10001-UP

8шт.

|$19

426-62-11100

VALVE ASS'Y

SN: 10001-UP

2шт.

10

207-60-11840

BODY

SN: 10001-UP

1шт.

11

426-62-13140

VALVE

SN: 10001-UP

1шт.

12

205-60-51310

SPRING

SN: 10001-UP

1шт.

13

205-60-51320

SEAT

SN: 10001-UP

1шт.

14

04065-02812

RING,SNAP

SN: 10001-UP

1шт.

15

07000-13035

O-RING

SN: 10001-UP

2шт.

16

07000-13032

O-RING

SN: 10001-UP

2шт.

17

426-62-13162

TUBE

SN: 11067-UP

1шт.

17

426-62-13161

TUBE

SN: 10001-11066

1шт.

18

426-62-13152

TUBE

SN: 11067-UP

1шт.

18

426-62-13151

TUBE

SN: 10001-11066

1шт.

19

01011-81015

BOLT

SN: 10001-UP

8шт.

20

01643-31032

WASHER

SN: 10001-UP

8шт.

21

07089-01008

HOSE

SN: 11385-UP

2шт.

21

0

HOSE

SN: 11332-11384

2шт.

21

0

HOSE

SN: 10001-11331

2шт.

22

07000-13032

O-RING

SN: 10001-UP

4шт.

23

07371-31049

FLANGE,SPLIT

SN: 10001-UP

8шт.

24

07372-21035

BOLT

SN: 10001-UP

16шт.

25

01643-51032

WASHER

SN: 10001-UP

16шт.

26

426-62-13183

BLOCK

SN: 11067-UP

1шт.

26

426-62-13182

BLOCK

SN: 10932-11066

1шт.

26

426-62-13181

BLOCK

SN: 10158-10931

1шт.

26

0

BLOCK

SN: 10001-10157

1шт.

27

07043-00108

PLUG

SN: 10001-UP

1шт.

28

01010-81230

BOLT

SN: 10001-UP

3шт.

29

01643-31232

WASHER

SN: 10001-UP

3шт.

30

426-62-13171

BRACKET

SN: 10001-UP

2шт.

31

426-62-13192

BRACKET

SN: 11370-UP

1шт.

31

426-62-13191

BRACKET

SN: 10067-11369

1шт.

31

426-62-13190

BRACKET

SN: 10001-11066

1шт.

31A

419-43-17930

CUSHION

SN: 10932-UP

2шт.

31B

415-64-13130

CUSHION

SN: 10932-UP

2шт.

31C

415-64-13120

WASHER

SN: 10932-UP

4шт.

31D

421-62-18560

SPACER

SN: 10932-UP

2шт.

32

426-62-12122

BRACKET

SN: 11067-UP

1шт.

32

426-62-12121

BRACKET

SN: 10001-11066

1шт.

32A

419-43-17930

CUSHION

SN: 10932-UP

2шт.

32B

415-64-13130

CUSHION

SN: 10932-UP

2шт.

32C

415-64-13120

WASHER

SN: 10932-UP

4шт.

32D

421-62-18560

SPACER

SN: 10932-UP

2шт.

33

01010-81025

BOLT

SN: 11067-UP

4шт.

33

01010-81025

BOLT

SN: 10001-11066

8шт.

33A

01435-01050

BOLT

SN: 10932-UP

4шт.

34

01643-31032

WASHER

SN: 10001-UP

8шт.

35

07283-33450

CLIP

SN: 10001-UP

4шт.

36

07283-53444

SEAT

SN: 10001-UP

2шт.

37

01597-01009

NUT

SN: 10001-UP

8шт.

38

01643-31032

WASHER

SN: 10001-UP

8шт.

Выбрано товаров: 69