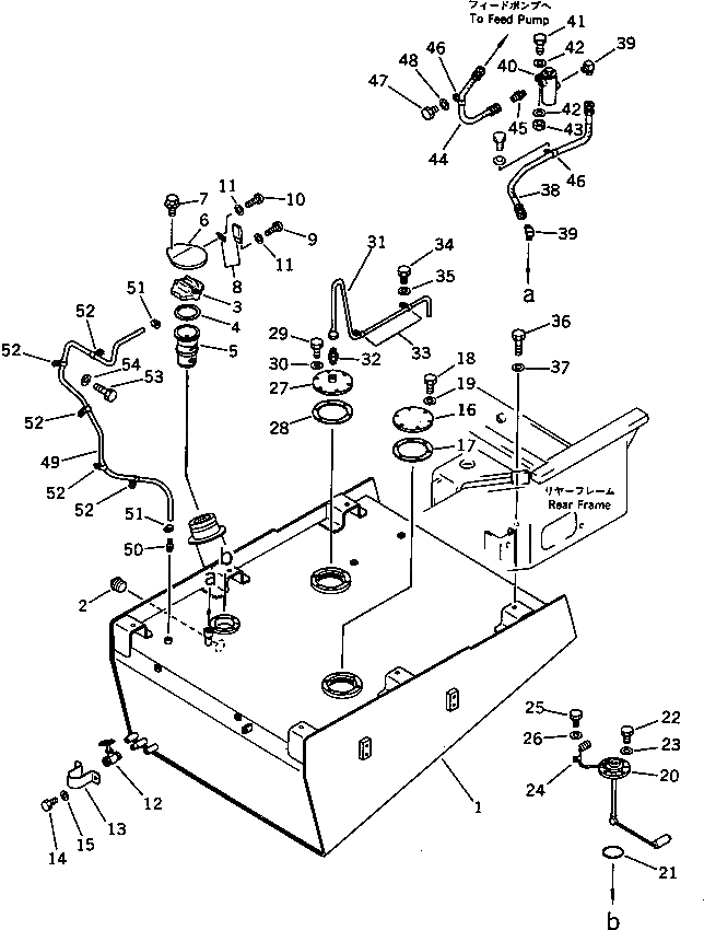
Запчасти Komatsu WA600-1 ТОПЛ. БАК И ТОПЛИВОПРОВОД (СПЕЦ-Я TBG)(№-) КОМПОНЕНТЫ ДВИГАТЕЛЯ И ЭЛЕКТРИКА

Схема запчастей Komatsu WA600-1 - ТОПЛ. БАК И ТОПЛИВОПРОВОД (СПЕЦ-Я TBG)(№-) КОМПОНЕНТЫ ДВИГАТЕЛЯ И ЭЛЕКТРИКА
FIT
1:1
100%

Артикул

Название

Примечание

Количество

1

426-04-11115

TANK

SN: 11061-UP

1шт.

2

426-04-11150

PLUG

SN: 10001-UP

1шт.

3

421-04-11260

CAP

SN: 11061-UP

1шт.

4

07050-21202

GASKET

SN: 10001-UP

1шт.

5

07056-18416

STRAINER

SN: 10001-UP

1шт.

6

426-04-11261

COVER

SN: 11061-UP

1шт.

7

01435-01016

BOLT

SN: 11061-UP

2шт.

8

421-09-12321

HOLDER

SN: 11061-UP

1шт.

9

01220-40510

SCREW

SN: 11061-UP

3шт.

10

01220-40508

SCREW

SN: 11061-UP

2шт.

11

01641-20508

WASHER

SN: 11061-UP

1шт.

12

416-04-10130

VALVE

SN: 10382-UP

1шт.

13

419-04-11120

COVER

SN: 10382-UP

1шт.

14

01010-50820

BOLT

SN: 10001-UP

2шт.

15

01643-30823

WASHER

SN: 10001-UP

2шт.

16

421-04-11181

COVER

SN: 10001-UP

1шт.

17

421-04-11191

GASKET

SN: 10001-UP

1шт.

18

01010-51025

BOLT

SN: 10001-UP

6шт.

19

01643-31032

WASHER

SN: 10001-UP

6шт.

20

7861-91-4740

SENSOR,FUEL LEVEL

SN: 10001-UP

1шт.

21

07000-02085

O-RING

SN: 10001-UP

1шт.

22

01010-51016

BOLT

SN: 10001-UP

4шт.

23

01643-31032

WASHER

SN: 10001-UP

4шт.

24

362-43-18780

CLIP

SN: 10001-UP

1шт.

25

01010-51016

BOLT

SN: 10001-UP

1шт.

26

01643-31032

WASHER

SN: 10001-UP

1шт.

27

426-04-11141

COVER

SN: 10001-UP

1шт.

28

421-04-11191

GASKET

SN: 10001-UP

1шт.

29

01010-51025

BOLT

SN: 10001-UP

6шт.

30

01643-31032

WASHER

SN: 10001-UP

6шт.

31

426-04-11162

TUBE

SN: 10001-UP

1шт.

32

07214-51013

CONNECTOR

SN: 10001-UP

1шт.

33

424-04-11120

CLIP

SN: 10001-UP

2шт.

34

01010-51020

BOLT

SN: 10001-UP

2шт.

35

01643-31032

WASHER

SN: 10001-UP

2шт.

36

01010-32465

BOLT

SN: 10001-UP

6шт.

37

01643-32460

WASHER

SN: 10001-UP

6шт.

38

07102-20407

HOSE

SN: 10001-UP

1шт.

39

556-35-14410

ELBOW

SN: 11061-UP

2шт.

40

07058-20000

FILTER ASS'Y

SN: 10169-UP

1шт.

40

07058-00010

ELEMENT ASS'Y

SN: 10169-UP

1шт.

41

01010-50830

BOLT

SN: 10001-UP

2шт.

42

01643-30823

WASHER

SN: 10001-UP

4шт.

43

01580-10806

NUT

SN: 10001-UP

2шт.

44

07102-20405

HOSE

SN: 10001-UP

1шт.

45

566-35-14390

NIPPLE

SN: 10001-UP

1шт.

46

08036-02514

CLIP

SN: 10001-UP

2шт.

47

01010-51016

BOLT

SN: 10001-UP

1шт.

48

01643-31032

WASHER

SN: 10001-UP

1шт.

49

07270-40419

TUBE

SN: 10001-UP

1шт.

50

07209-01040

NIPPLE

SN: 10001-UP

1шт.

51

07280-00910

CLAMP

SN: 10001-UP

2шт.

52

424-04-11120

CLIP

SN: 10001-UP

5шт.

53

01010-51016

BOLT

SN: 10001-UP

5шт.

54

01643-31032

WASHER

SN: 10001-UP

5шт.

Выбрано товаров: 55