Запчасти Komatsu WA600-1 АККУМУЛЯТОР И Э/ПРОВОДКА ПЕРЕКЛЮЧАТЕЛЯ(№88-7) КОМПОНЕНТЫ ДВИГАТЕЛЯ И ЭЛЕКТРИКА

Схема запчастей Komatsu WA600-1 - АККУМУЛЯТОР И Э/ПРОВОДКА ПЕРЕКЛЮЧАТЕЛЯ(№88-7) КОМПОНЕНТЫ ДВИГАТЕЛЯ И ЭЛЕКТРИКА
FIT
1:1
100%

Артикул

Название

Примечание

Количество

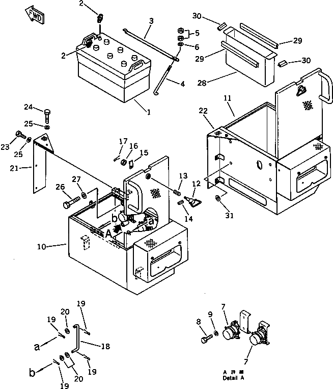
1

08000-02221

BATTERY, WET(C200),(C200 OR F300-20)

SN: 10403-@

2шт.

1

08000-12220

BATTERY (190H52),(DRY TYPE)

SN: 10001-@

2шт.

1

08000-02221

BATTERY, WET(C200),(C200 OR F300-20)

SN: 10001-@

2шт.

1

08000-12221

BATTERY, DRY(C200),(C200 OR F300-20)

SN: 10001-@

2шт.

2

08000-00000

TERMINAL, (+)

SN: 10001-@

2шт.

2

08000-00001

TERMINAL, (-)

SN: 10001-@

2шт.

3

421-06-11221

HOLDER

SN: 10001-@

2шт.

4

113-06-31120

BOLT

SN: 10001-@

4шт.

5

01580-11008

NUT

SN: 10001-@

8шт.

6

01643-31032

WASHER

SN: 10001-@

4шт.

7

421-06-11930

RELAY,BATTERY

SN: 10001-@

2шт.

8

01010-50830

BOLT

SN: 10001-@

4шт.

9

01643-30823

WASHER

SN: 10001-@

4шт.

10

426-06-11214

BOX,L.H.

SN: 10900-11475

1шт.

10

0

BOX,L.H.

SN: 10001-10883

1шт.

11

426-06-11225

BOX,R.H.

SN: 10900-11475

1шт.

11

0

BOX,R.H.

SN: 10881-10883

1шт.

12

426-06-11261

HANDLE

SN: 10001-@

2шт.

13

09468-00003

SPRING

SN: 10001-@

2шт.

14

04025-00532

PIN,SPRING

SN: 10001-@

2шт.

15

426-06-11270

LOCK

SN: 10001-@

2шт.

16

01590-31215

NUT

SN: 10001-@

2шт.

17

04050-13020

PIN,COTTER

SN: 10001-@

2шт.

18

426-06-11280

BAR

SN: 10001-@

2шт.

19

04050-13020

PIN,COTTER

SN: 10001-@

8шт.

20

01643-31032

WASHER

SN: 10001-@

6шт.

21

426-06-11230

PLATE,L.H.

SN: 10001-@

1шт.

22

426-06-11240

PLATE,R.H.

SN: 10001-@

1шт.

23

01010-81225

BOLT

SN: 10001-@

6шт.

24

01010-51225

BOLT

SN: 10001-@

2шт.

25

01643-31232

WASHER

SN: 10001-@

8шт.

26

01010-61680

BOLT

SN: 10001-@

8шт.

27

01643-31645

WASHER

SN: 10001-@

8шт.

28

426-54-13390

BOX

SN: 10900-@

1шт.

28

421-54-18520

BOX

SN: 10881-10883

1шт.

29

421-54-18530

SEAL

SN: 10881-10883

2шт.

30

421-54-18540

SEAL

SN: 10881-10883

2шт.

31

426-09-11410

SHIM, 1.0MM

SN: 10881-@

10шт.

32

01010-60816

BOLT

SN: 10900-@

2шт.

33

416-64-15620

WASHER

SN: 10900-@

2шт.

Выбрано товаров: 40