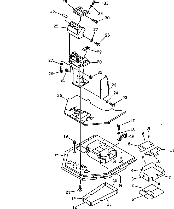
Запчасти Komatsu WA600-1 ОСНОВН. КОНСТРУКЦИЯ И ПРИБОРНАЯ ПАНЕЛЬ (С КАБИНОЙ) (СПЕЦ-Я TBG)(№-) РАМА И ЧАСТИ КОРПУСА

Схема запчастей Komatsu WA600-1 - ОСНОВН. КОНСТРУКЦИЯ И ПРИБОРНАЯ ПАНЕЛЬ (С КАБИНОЙ) (СПЕЦ-Я TBG)(№-) РАМА И ЧАСТИ КОРПУСА
FIT
1:1
100%

Артикул

Название

Примечание

Количество

|$0

427-54-13810

FRAME ASS'Y,FLOOR

SN: 11061-UP

1шт.

1

0

FRAME,FLOOR

SN: 11061-UP

1шт.

2

421-54-18470

INSULATOR

SN: 11061-UP

1шт.

3

421-54-18420

INSULATOR

SN: 11061-UP

1шт.

4

421-54-18430

INSULATOR

SN: 11061-UP

2шт.

5

421-54-18450

INSULATOR

SN: 11061-UP

1шт.

6

421-54-18460

INSULATOR

SN: 11061-UP

1шт.

7

421-54-18440

INSULATOR

SN: 11061-UP

1шт.

8

421-54-18380

INSULATOR

SN: 11061-UP

1шт.

9

421-54-18410

INSULATOR

SN: 11061-UP

1шт.

10

421-54-18370

INSULATOR

SN: 11061-UP

1шт.

11

421-54-18390

INSULATOR

SN: 11061-UP

1шт.

12

421-54-18330

INSULATOR

SN: 11061-UP

1шт.

13

421-54-18340

INSULATOR

SN: 11061-UP

1шт.

14

421-54-18350

INSULATOR

SN: 11061-UP

1шт.

15

421-54-18360

INSULATOR

SN: 11061-UP

1шт.

16

425-54-12570

COVER

SN: 10001-UP

1шт.

17

01010-50825

BOLT

SN: 10001-UP

2шт.

18

01643-30823

WASHER

SN: 10001-UP

2шт.

19

09415-03614

CAP

SN: 10001-UP

1шт.

20

426-06-11830

SUPPORT

SN: 11393-UP

1шт.

20

427-54-12782

SUPPORT

SN: 11061-11392

1шт.

21

01435-01230

BOLT

SN: 11061-UP

5шт.

22

421-54-12875

COVER

SN: 11061-UP

1шт.

23

01010-50816

BOLT

SN: 11061-UP

8шт.

24

01643-30823

WASHER

SN: 11061-UP

8шт.

25

426-06-11840

COVER

SN: 11393-UP

1шт.

25

421-54-12813

COVER

SN: 10001-11392

1шт.

26

01010-50816

BOLT

SN: 10001-UP

4шт.

27

01643-30823

WASHER

SN: 10001-UP

4шт.

28

425-54-12871

COVER

SN: 10142-UP

1шт.

29

421-54-12273

INSULATOR

SN: 10001-UP

1шт.

30

01224-70620

SCREW

SN: 11061-UP

2шт.

31

09415-02512

CAP

SN: 10001-UP

1шт.

32

09415-00706

CAP

SN: 11061-UP

2шт.

33

01220-40816

SCREW

SN: 11061-UP

2шт.

34

01643-30823

WASHER

SN: 11061-UP

2шт.

35

424-09-12610

COVER,(WITHOUT AIR CONDITIONER)

SN: 10001-UP

4шт.

36

425-54-12833

MAT,FLOOR (WITH CAB)

SN: 11061-UP

1шт.

Выбрано товаров: 39