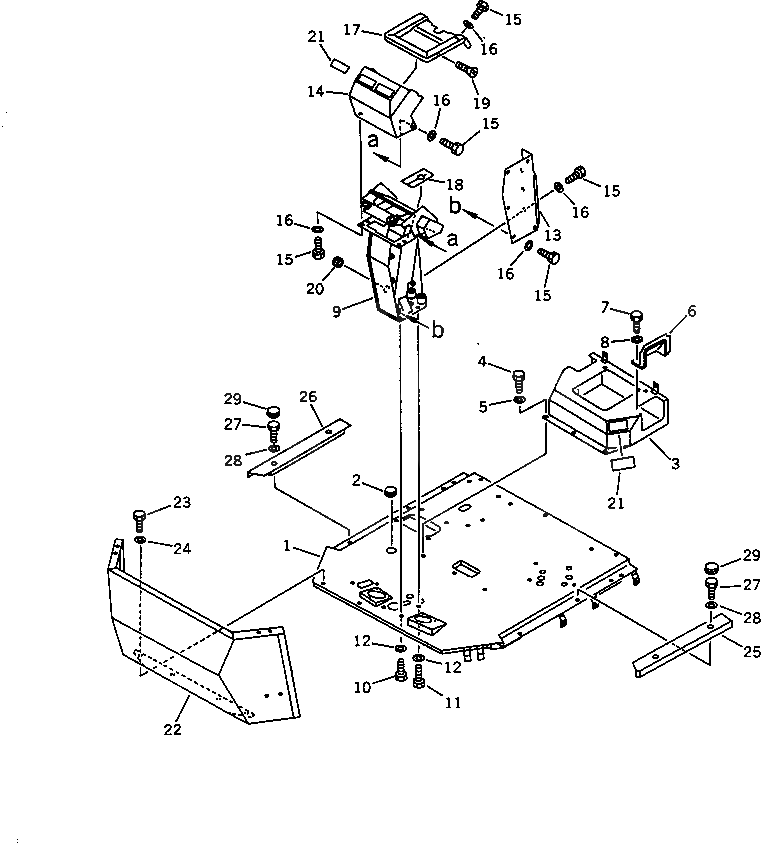
Запчасти Komatsu WA600-1 ОСНОВН. КОНСТРУКЦИЯ И ПРИБОРНАЯ ПАНЕЛЬ (БЕЗ КАБИНЫ)(№-88) РАМА И ЧАСТИ КОРПУСА

Схема запчастей Komatsu WA600-1 - ОСНОВН. КОНСТРУКЦИЯ И ПРИБОРНАЯ ПАНЕЛЬ (БЕЗ КАБИНЫ)(№-88) РАМА И ЧАСТИ КОРПУСА
FIT
1:1
100%

Артикул

Название

Примечание

Количество

1

426-54-12414

FRAME,FLOOR

SN: 10024-10880

1шт.

1

0

FRAME,FLOOR

SN: 10001-10023

1шт.

2

09415-03614

CAP

SN: 10001-@

1шт.

3

421-54-12154

BRACKET

SN: 10001-10880

1шт.

4

01010-51225

BOLT

SN: 10001-10880

7шт.

5

01643-31232

WASHER

SN: 10001-10880

7шт.

6

425-54-12570

COVER

SN: 10001-@

1шт.

7

01010-50825

BOLT

SN: 10001-@

1шт.

8

01643-30823

WASHER

SN: 10001-@

1шт.

9

421-54-12215

SUPPORT

SN: 10001-10880

1шт.

10

01010-51270

BOLT

SN: 10001-10880

3шт.

11

01010-51245

BOLT

SN: 10001-10880

1шт.

12

01643-31232

WASHER

SN: 10001-10880

4шт.

13

421-54-12874

COVER

SN: 10001-10880

1шт.

14

421-54-12813

COVER

SN: 10001-@

1шт.

15

01010-50816

BOLT

SN: 10001-10880

14шт.

16

01643-30823

WASHER

SN: 10001-10880

14шт.

17

425-54-12871

COVER

SN: 10142-@

1шт.

17

0

COVER

SN: 10001-10141

1шт.

18

421-54-12273

INSULATOR

SN: 10001-@

1шт.

19

01224-70616

SCREW

SN: 10445-10880

2шт.

19

424-54-12540

SCREW

SN: 10028-10444

2шт.

19

0

SCREW

SN: 10001-10027

2шт.

20

09415-02512

CAP

SN: 10001-@

1шт.

21

424-09-12610

COVER

SN: 10001-@

6шт.

22

426-54-16130

GUARD

SN: 10001-10880

1шт.

23

01010-51225

BOLT

SN: 10001-10880

6шт.

24

01643-31232

WASHER

SN: 10001-10880

6шт.

25

426-54-16140

COVER,L.H.

SN: 10001-@

1шт.

26

426-54-16150

COVER,R.H.

SN: 10001-@

1шт.

27

01010-51225

BOLT

SN: 10001-@

4шт.

28

01643-31232

WASHER

SN: 10001-@

4шт.

29

09415-02512

CAP

SN: 10001-@

4шт.

Выбрано товаров: 33