Запчасти Komatsu WA600-1 КОНСОЛЬН. БЛОК¤ ПРАВ. (С КАБИНОЙ)(№88-) РАМА И ЧАСТИ КОРПУСА

Схема запчастей Komatsu WA600-1 - КОНСОЛЬН. БЛОК¤ ПРАВ. (С КАБИНОЙ)(№88-) РАМА И ЧАСТИ КОРПУСА
FIT
1:1
100%

Артикул

Название

Примечание

Количество

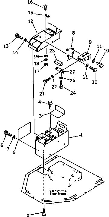
1

425-54-12713

BOX

SN: 10881-UP

1шт.

1

428-S33-1880

BOX,(FOR JOY STICK STEERING)

SN: 10881-UP

1шт.

2

01435-01225

BOLT

SN: 10881-UP

3шт.

3

424-54-14191

PLATE

SN: 10881-UP

1шт.

3

427-S33-2690

PLATE,(WITH JOY STICK STEERING)

SN: 10881-UP

1шт.

4

01435-00610

BOLT

SN: 10881-UP

4шт.

4

01435-00610

BOLT,(WITH JOY STICK STEERING)

SN: 10881-UP

2шт.

5

425-54-12722

PLATE

SN: 10881-UP

1шт.

6

01010-80816

BOLT

SN: 10001-UP

5шт.

7

01643-30823

WASHER

SN: 10001-UP

5шт.

8

425-54-12692

PLATE

SN: 10881-UP

1шт.

9

425-54-12684

BRACKET

SN: 10881-UP

1шт.

9

428-S33-2521

BRACKET,(FOR JOY STICK STEERING)

SN: 10881-UP

1шт.

10

01010-81225

BOLT

SN: 10881-UP

4шт.

10

01010-81225

BOLT,(WITH JOY STICK STEERING)

SN: 10881-UP

2шт.

11

01643-31232

WASHER

SN: 10881-UP

4шт.

11

01643-31232

WASHER,(WITH JOY STICK STEERING)

SN: 10881-UP

2шт.

12

425-54-12843

COVER

SN: 10881-UP

1шт.

12

428-S33-2570

COVER,(WITH JOY STICK STEERING)

SN: 10881-UP

1шт.

13

01435-00816

BOLT

SN: 11148-UP

4шт.

13

01010-50818

BOLT

SN: 10881-11147

4шт.

14

01643-30823

WASHER

SN: 10881-11147

4шт.

15

09452-06506

CATCHER

SN: 10001-UP

1шт.

16

01224-40412

SCREW

SN: 10001-UP

2шт.

17

01580-60403

NUT

SN: 10001-UP

2шт.

18

01601-20410

WASHER,SPRING

SN: 10001-UP

2шт.

19

01641-20405

WASHER

SN: 10001-UP

2шт.

20

421-54-18560

PLATE

SN: 10881-UP

1шт.

21

01010-80820

BOLT

SN: 10881-UP

2шт.

22

01643-30823

WASHER

SN: 10881-UP

2шт.

23

421-54-18550

REST,ARM

SN: 10881-UP

1шт.

24

01010-80820

BOLT

SN: 10881-UP

2шт.

25

01643-30823

WASHER

SN: 10881-UP

2шт.

Выбрано товаров: 33