Запчасти Komatsu WA600-1 КОНСОЛЬН. БЛОК¤ ЛЕВ. (С КАБИНОЙ) (С КОНДИЦИОНЕРОМ)(№-88) РАМА И ЧАСТИ КОРПУСА

Схема запчастей Komatsu WA600-1 - КОНСОЛЬН. БЛОК¤ ЛЕВ. (С КАБИНОЙ) (С КОНДИЦИОНЕРОМ)(№-88) РАМА И ЧАСТИ КОРПУСА
FIT
1:1
100%

Артикул

Название

Примечание

Количество

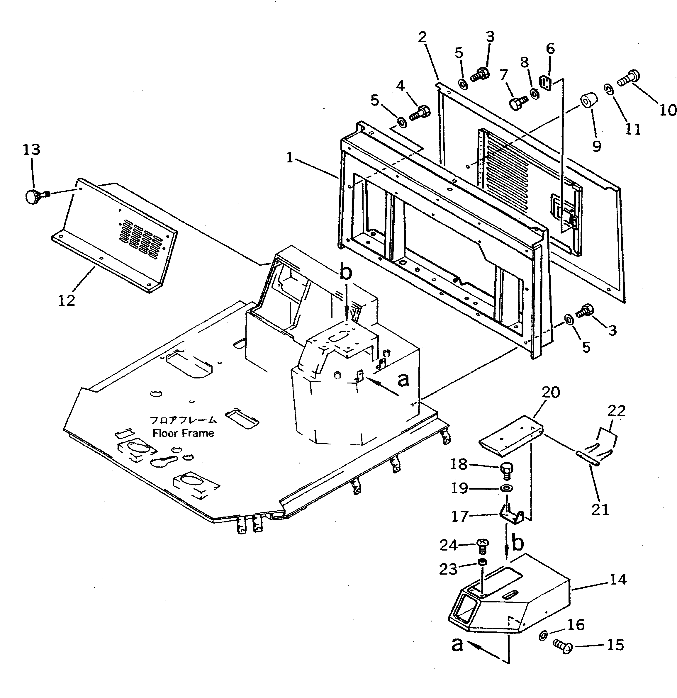
1

426-54-12942

BOX,REAR

SN: 10001-10880

1шт.

2

426-54-12991

COVER

SN: 10167-10880

1шт.

2

426-54-12990

COVER

SN: 10001-10166

1шт.

3

01010-81225

BOLT

SN: 10001-10880

17шт.

4

01010-51230

BOLT

SN: 10001-10880

3шт.

5

01643-31232

WASHER

SN: 10001-10880

20шт.

6

421-54-11980

PLATE

SN: 10001-@

1шт.

7

01010-81225

BOLT

SN: 10001-@

2шт.

8

01643-31232

WASHER

SN: 10001-@

2шт.

9

418-60-15150

STOPPER

SN: 10001-@

1шт.

10

01220-40630

SCREW

SN: 10001-@

1шт.

11

01602-20619

WASHER,SPRING

SN: 10001-@

1шт.

12

425-54-12542

COVER

SN: 10167-10880

1шт.

12

425-54-12541

COVER

SN: 10001-10166

1шт.

13

425-54-12960

SCREW

SN: 10001-10880

6шт.

14

425-54-12671

COVER

SN: .-10880

1шт.

14

0

COVER

SN: 10001-.

1шт.

|$$18

(425-54-12671,423-54-12830(4),

-1шт.

|$$19

423-54-12840(4))

-1шт.

15

01224-70616

SCREW

SN: 10445-10880

4шт.

15

423-54-12830

SCREW

SN: ..-10444

4шт.

15

01224-30616

SCREW

SN: .-..

4шт.

15

424-54-12540

SCREW

SN: 10001-.

4шт.

16

01642-40608

WASHER

SN: 10445-@

4шт.

16

423-54-12840

WASHER

SN: 10001-10444

4шт.

17

425-54-12520

PLATE

SN: 10001-@

1шт.

18

01010-51020

BOLT

SN: 10001-10880

2шт.

19

01643-31032

WASHER

SN: 10001-10880

2шт.

20

425-54-12510

BRACKET

SN: 10001-@

1шт.

21

425-54-12530

SHAFT

SN: 10001-@

1шт.

22

04050-13018

PIN,COTTER

SN: 10001-@

2шт.

23

425-54-12590

STOPPER,RUBBER

SN: 10001-@

2шт.

24

01220-30420

SCREW

SN: 10001-@

2шт.

Выбрано товаров: 33