Запчасти Komatsu WA600-1 КОНСОЛЬН. БЛОК¤ ЛЕВ. (БЕЗ КАБИНЫ)(№88-) РАМА И ЧАСТИ КОРПУСА

Схема запчастей Komatsu WA600-1 - КОНСОЛЬН. БЛОК¤ ЛЕВ. (БЕЗ КАБИНЫ)(№88-) РАМА И ЧАСТИ КОРПУСА
FIT
1:1
100%

Артикул

Название

Примечание

Количество

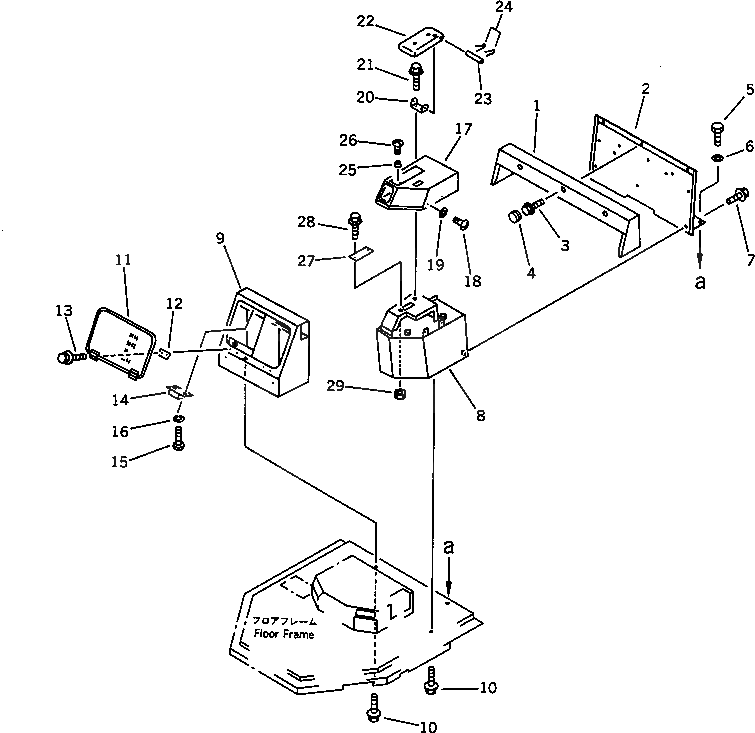
1

424-54-17192

COVER

SN: 10881-UP

1шт.

2

426-54-13480

COVER

SN: 10881-UP

1шт.

3

01435-01265

BOLT

SN: 10881-UP

3шт.

4

09415-03614

CAP

SN: 10881-UP

3шт.

5

01010-51225

BOLT

SN: 10881-UP

6шт.

6

01643-31232

WASHER

SN: 10881-UP

6шт.

7

01435-01225

BOLT

SN: 10881-UP

3шт.

8

424-54-12830

BOX

SN: 10001-UP

1шт.

9

427-54-13650

BOX

SN: 10881-UP

1шт.

9

427-S33-2950

BOX,(FOR JOY STICK STEERING)

SN: 10881-UP

1шт.

10

01435-01220

BOLT

SN: 10881-UP

7шт.

11

421-T43-1310

COVER

SN: 10881-UP

1шт.

12

421-T43-1320

PLATE

SN: 10881-UP

2шт.

13

01435-00616

BOLT

SN: 10881-UP

4шт.

14

09452-14503

CATCHER

SN: 10881-UP

2шт.

15

01220-40308

SCREW

SN: 10881-UP

4шт.

16

01601-20307

WASHER,SPRING

SN: 10881-UP

4шт.

17

425-54-12671

COVER

SN: 10881-UP

1шт.

17

427-S33-2790

BOX,(FOR JOY STICK STEERING)

SN: 10881-UP

1шт.

18

01220-70616

SCREW

SN: 10445-UP

4шт.

19

01642-40608

WASHER

SN: 10403-UP

4шт.

20

425-54-12520

PLATE

SN: 10001-UP

1шт.

21

01435-01020

BOLT

SN: 10881-UP

2шт.

22

425-54-12510

BRACKET

SN: 10001-UP

1шт.

23

425-54-12530

SHAFT

SN: 10001-UP

1шт.

24

04050-13018

PIN,COTTER

SN: 10001-UP

2шт.

25

425-54-12590

STOPPER

SN: 10001-UP

2шт.

26

01220-30420

SCREW

SN: 10001-UP

2шт.

27

424-54-12820

PLATE

SN: 10001-UP

1шт.

28

01435-01020

BOLT

SN: 10881-UP

2шт.

29

01584-01008

NUT

SN: 10001-UP

2шт.

Выбрано товаров: 31