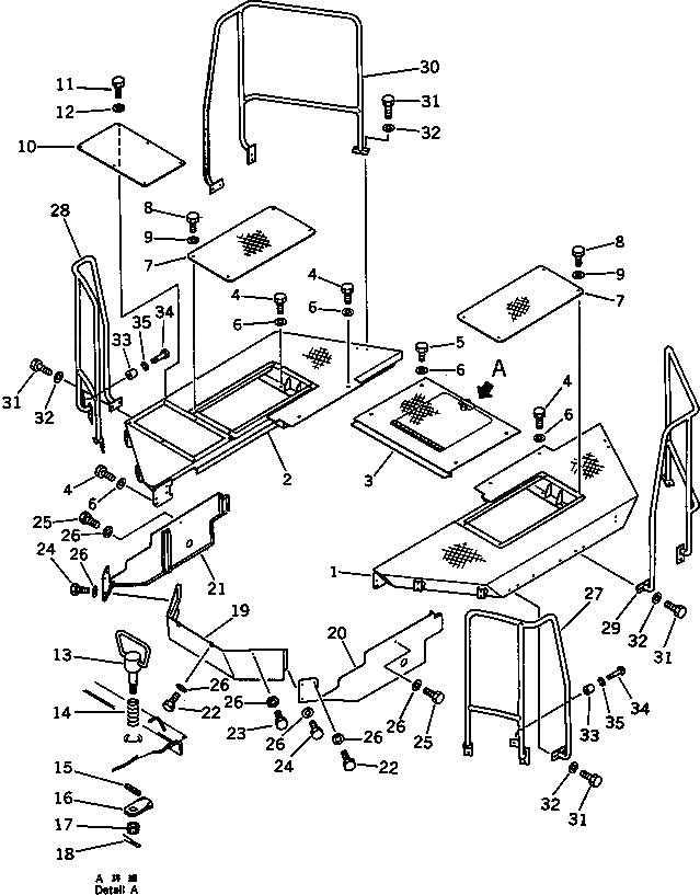
Запчасти Komatsu WA600-1ПОЛ (С КАБИНОЙ)(№88-) РАМА И ЧАСТИ КОРПУСА

Схема запчастей Komatsu WA600-1 -  ПОЛ (С КАБИНОЙ)(№88-) РАМА И ЧАСТИ КОРПУСА
FIT
1:1
100%

Артикул

Название

Примечание

Количество

1

426-54-12317

FLOOR,L.H.

SN: 11097-@

1шт.

1

426-54-12316

FLOOR,L.H.

SN: 10955-11096

1шт.

1

426-54-12315

FLOOR,L.H.

SN: 10881-10954

1шт.

2

426-54-12327

FLOOR,R.H.

SN: 11097-11312

1шт.

2

426-54-12326

FLOOR,R.H.

SN: 10955-11096

1шт.

2

426-54-12325

FLOOR,R.H.

SN: 10881-10954

1шт.

3

426-54-12332

FRAME,FLOOR

SN: 10001-@

1шт.

4

01010-81230

BOLT

SN: 10001-@

12шт.

5

01010-81225

BOLT

SN: 10001-@

4шт.

6

01643-31232

WASHER

SN: 10001-@

16шт.

7

426-54-12341

COVER

SN: 11097-@

2шт.

7

426-54-12340

COVER

SN: 10001-11096

2шт.

8

01010-81225

BOLT

SN: 10001-@

8шт.

9

01643-31232

WASHER

SN: 10001-@

8шт.

10

426-54-13510

COVER

SN: 10881-@

1шт.

11

01010-81225

BOLT

SN: 10881-@

6шт.

12

01643-31232

WASHER

SN: 10881-@

6шт.

13

426-06-11261

HANDLE

SN: 10001-@

1шт.

14

09468-00003

SPRING

SN: 10001-@

1шт.

15

04025-00532

PIN,SPRING

SN: 10001-@

1шт.

16

426-06-11270

LOCK

SN: 10001-@

1шт.

17

01590-31215

NUT

SN: 10001-@

1шт.

18

04050-13020

PIN,COTTER

SN: 10001-@

1шт.

19

426-54-12223

COVER

SN: 10881-@

1шт.

20

426-54-12237

COVER,L.H.

SN: 10919-@

1шт.

20

426-54-12236

COVER,L.H.

SN: 10900-10918

1шт.

20

426-54-12235

COVER,L.H.

SN: 10881-10899

1шт.

21

426-54-12247

COVER,R.H.

SN: 10919-@

1шт.

21

426-54-12246

COVER,R.H.

SN: 10900-10918

1шт.

21

426-54-12245

COVER,R.H.

SN: 10881-10899

1шт.

22

01010-81225

BOLT

SN: 10881-@

4шт.

23

01010-81255

BOLT

SN: 10881-@

2шт.

24

01010-81220

BOLT

SN: 10881-@

4шт.

24A

01010-81255

BOLT

SN: 10916-@

2шт.

25

01010-81230

BOLT

SN: 10881-@

2шт.

25A

01010-81225

BOLT

SN: 10919-@

2шт.

26

01643-31232

WASHER

SN: 10881-@

12шт.

27

426-54-12175

HANDLE,L.H.

SN: 11048-@

1шт.

27

426-54-12174

HANDLE,L.H.

SN: 10918-11047

1шт.

27

426-54-12173

HANDLE,L.H.

SN: 10027-10917

1шт.

28

426-54-12185

HANDLE,R.H.

SN: 11048-@

1шт.

28

426-54-12184

HANDLE,R.H.

SN: 10918-11047

1шт.

28

426-54-12183

HANDLE,R.H.

SN: 10027-10917

1шт.

29

426-54-12191

HANDLE,L.H.

SN: 10001-@

1шт.

30

426-54-12211

HANDLE,R.H.

SN: 10001-@

1шт.

31

01010-81230

BOLT

SN: 10015-@

24шт.

32

01643-31232

WASHER

SN: 10001-@

24шт.

33

418-60-15150

STOPPER

SN: 11048-@

2шт.

33

418-60-15150

STOPPER

SN: 10001-10917

2шт.

34

01220-40625

SCREW

SN: 11048-@

2шт.

34

01220-40625

SCREW

SN: 10001-10917

2шт.

35

01602-20619

WASHER,SPRING

SN: 11048-@

2шт.

35

01602-20619

WASHER,SPRING

SN: 10001-10917

2шт.

Выбрано товаров: 53