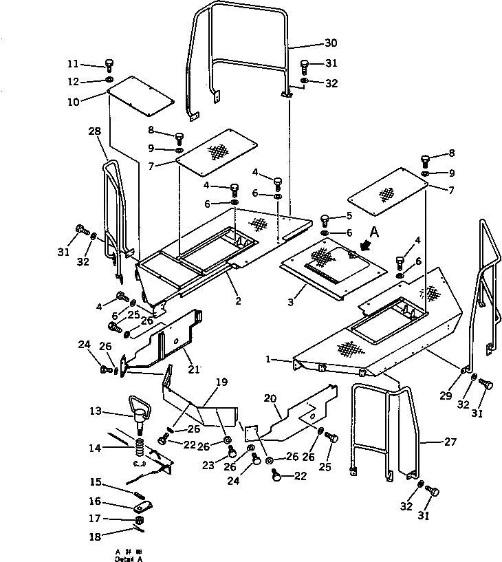
Запчасти Komatsu WA600-1ПОЛ (БЕЗ КАБИНЫ)(№88-) РАМА И ЧАСТИ КОРПУСА

Схема запчастей Komatsu WA600-1 -  ПОЛ (БЕЗ КАБИНЫ)(№88-) РАМА И ЧАСТИ КОРПУСА
FIT
1:1
100%

Артикул

Название

Примечание

Количество

1

426-54-12316

FLOOR,L.H.

SN: 10955-UP

1шт.

1

426-54-12315

FLOOR,L.H.

SN: 10881-10954

1шт.

2

426-54-12326

FLOOR,R.H.

SN: 10955-UP

1шт.

2

426-54-12325

FLOOR,R.H.

SN: 10881-10954

1шт.

3

426-54-12332

FRAME,FLOOR

SN: 10001-UP

1шт.

4

01010-51230

BOLT

SN: 10001-UP

12шт.

5

01010-51225

BOLT

SN: 10001-UP

4шт.

6

01643-31232

WASHER

SN: 10001-UP

16шт.

7

426-54-12340

COVER

SN: 10001-UP

2шт.

8

01010-51225

BOLT

SN: 10001-UP

8шт.

9

01643-31232

WASHER

SN: 10001-UP

8шт.

10

426-54-13510

COVER

SN: 10881-UP

1шт.

11

01010-51225

BOLT

SN: 10881-UP

6шт.

12

01643-31232

WASHER

SN: 10881-UP

6шт.

13

426-06-11261

HANDLE

SN: 10001-UP

1шт.

14

09463-00003

SPRING

SN: 10001-UP

1шт.

15

04025-00532

PIN,SPRING

SN: 10001-UP

1шт.

16

426-06-11270

LOCK

SN: 10001-UP

1шт.

17

01590-01215

NUT

SN: 10001-UP

1шт.

18

04050-13020

PIN,COTTER

SN: 10001-UP

1шт.

19

426-54-12223

COVER

SN: 10881-UP

1шт.

20

426-54-12235

COVER,L.H.

SN: 10881-UP

1шт.

21

426-54-12245

COVER,R.H.

SN: 10881-UP

1шт.

22

01010-51225

BOLT

SN: 10881-UP

4шт.

23

01010-51255

BOLT

SN: 10881-UP

2шт.

24

01010-51220

BOLT

SN: 10881-UP

4шт.

25

01010-51230

BOLT

SN: 10881-UP

2шт.

26

01643-31232

WASHER

SN: 10881-UP

12шт.

27

426-54-12173

HANDLE,L.H.

SN: 10027-UP

1шт.

28

426-54-12183

HANDLE,R.H.

SN: 10027-UP

1шт.

29

426-54-12191

HANDLE,L.H.

SN: 10001-UP

1шт.

30

426-54-12211

HANDLE,R.H.

SN: 10001-UP

1шт.

31

01010-51230

BOLT

SN: 10015-UP

24шт.

32

01643-31232

WASHER

SN: 10001-UP

24шт.

Выбрано товаров: 34