Запчасти Komatsu WA600-1 КАБИНА (/) (ЭЛЕМЕНТЫ КРЕПЛЕНИЯ)(№-88) РАМА И ЧАСТИ КОРПУСА

Схема запчастей Komatsu WA600-1 - КАБИНА (/) (ЭЛЕМЕНТЫ КРЕПЛЕНИЯ)(№-88) РАМА И ЧАСТИ КОРПУСА
FIT
1:1
100%

Артикул

Название

Примечание

Количество

|$0

426-54-15003

OPERATOR'S CAB ASS'Y

SN: .-10880

1шт.

|$1

426-54-15001

OPERATOR'S CAB ASS'Y

SN: 10001-.

1шт.

|$$3

THESE ASSEMBLIES CONSIST OF ALL PARTS SHOWN IN FIGS.5501 TO 5506.

-1шт.

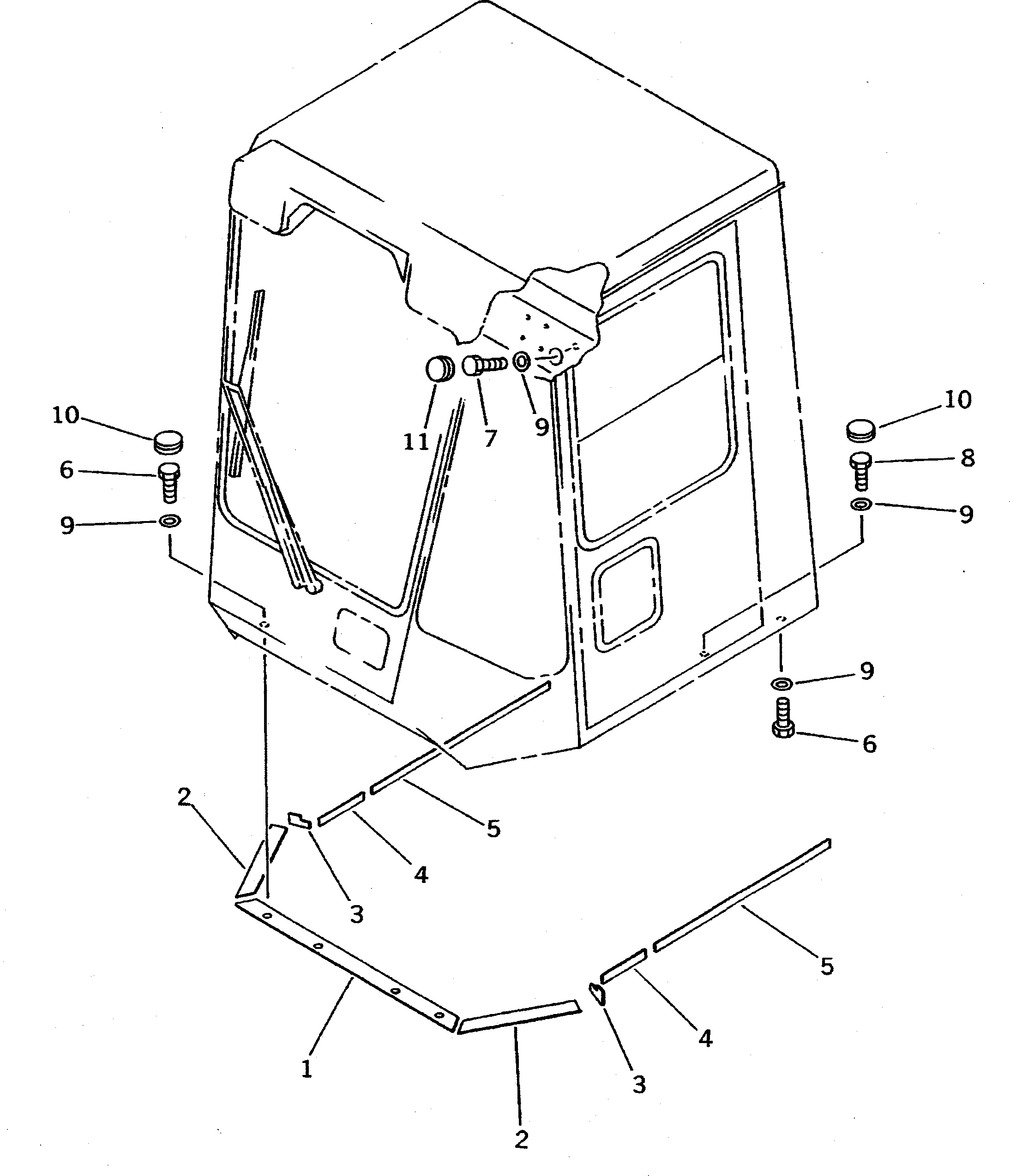
1

425-54-15410

SHEET

SN: 10001-10880

1шт.

2

425-54-15391

SHEET

SN: 10001-10880

2шт.

3

425-54-15441

SHEET

SN: 10001-10880

2шт.

4

425-54-15451

SHEET

SN: 10001-10880

2шт.

5

425-54-15930

SHEET

SN: 10001-10880

2шт.

6

01010-51230

BOLT

SN: 10001-10880

8шт.

7

01010-51270

BOLT

SN: 10001-10880

2шт.

8

01010-51225

BOLT

SN: 10001-10880

4шт.

9

01643-31232

WASHER

SN: 10001-10880

14шт.

10

09415-02512

CAP

SN: 10001-10880

8шт.

11

09415-03614

CAP

SN: 10001-10880

2шт.

Выбрано товаров: 0