Запчасти Komatsu WA600-1 КОНДИЦ. ВОЗДУХА (DENSO) (/) (ВОДН. ГИДРОЛИНИЯ)(№-88) РАМА И ЧАСТИ КОРПУСА

Схема запчастей Komatsu WA600-1 - КОНДИЦ. ВОЗДУХА (DENSO) (/) (ВОДН. ГИДРОЛИНИЯ)(№-88) РАМА И ЧАСТИ КОРПУСА
FIT
1:1
100%

Артикул

Название

Примечание

Количество

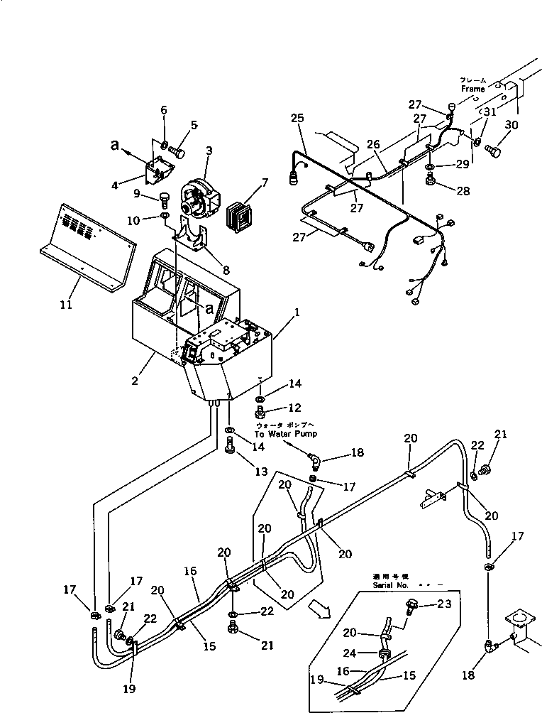
1

09483-00530

HOSE

SN: ..-@

1шт.

1

09483-00532

HOSE

SN: 10001-..

1шт.

2

09483-00541

HOSE

SN: 10001-@

1шт.

3

07280-02523

CLAMP

SN: .-@

4шт.

3

0

CLAMP

SN: 10001-@

4шт.

4

6137-81-3221

ELBOW

SN: 10001-@

2шт.

5

421-07-11760

CLIP

SN: ..-@

2шт.

5

421-07-11760

CLIP

SN: 10001-..

1шт.

6

08036-02514

CLIP

SN: ..-@

8шт.

6

08036-02514

CLIP

SN: 10001-..

10шт.

7

01010-81020

BOLT

SN: 10001-@

7шт.

8

01643-31032

WASHER

SN: 10001-@

7шт.

9

01435-01016

BOLT

SN: ..-@

1шт.

10

08037-03614

GROMMET

SN: ..-@

1шт.

11

426-963-1140

WIRE ASS'Y

SN: 10001-10880

1шт.

11

421-06-11970

DIODE

SN: 10001-10880

1шт.

12

424-06-12720

CLIP

SN: 10001-10880

7шт.

13

01010-51020

BOLT

SN: 10001-@

4шт.

14

01643-31032

WASHER

SN: 10001-@

4шт.

15

01010-51016

BOLT

SN: 10001-10880

1шт.

16

01643-31032

WASHER

SN: 10001-10880

1шт.

17

01010-51225

BOLT

SN: 10001-10880

6шт.

18

01010-51265

BOLT

SN: 10001-10880

1шт.

19

01643-31232

WASHER

SN: 10001-10880

7шт.

Выбрано товаров: 24