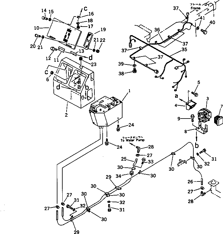
Запчасти Komatsu WA600-1 КОНДИЦ. ВОЗДУХА (DENSO) (/) (СПЕЦ-Я TBG)(№-) РАМА И ЧАСТИ КОРПУСА

Схема запчастей Komatsu WA600-1 - КОНДИЦ. ВОЗДУХА (DENSO) (/) (СПЕЦ-Я TBG)(№-) РАМА И ЧАСТИ КОРПУСА
FIT
1:1
100%

Артикул

Название

Примечание

Количество

1

425-963-1111

AIR CONDITIONER A.

SN: 10607-UP

1шт.

2

428-963-1252

BOX

SN: 11061-UP

1шт.

2

427-963-1310

INSULATOR

SN: 11061-UP

2шт.

3

425-963-1160

BLOWER ASS'Y

SN: 10001-UP

1шт.

4

425-963-1170

DAMPER ASS'Y

SN: 10001-UP

1шт.

5

01435-00816

BOLT

SN: 11061-UP

2шт.

6

01584-00806

NUT

SN: 11061-UP

2шт.

7

425-963-1180

DUCT

SN: 10001-UP

1шт.

8

425-963-1210

BRACKET

SN: 10001-UP

1шт.

9

01435-00816

BOLT

SN: 11061-UP

4шт.

10

421-T43-1390

COVER

SN: 11061-UP

1шт.

11

421-T43-1340

PLATE

SN: 11061-UP

2шт.

12

01435-00616

BOLT

SN: 11061-UP

4шт.

13

421-T43-1330

PLATE

SN: 11061-UP

2шт.

14

425-54-12960

SCREW

SN: 11061-UP

2шт.

15

01643-30623

WASHER

SN: 11061-UP

2шт.

16

421-T43-1350

PLATE

SN: 11061-UP

2шт.

17

01220-40308

SCREW

SN: 11061-UP

4шт.

18

01601-20307

WASHER,SPRING

SN: 11061-UP

4шт.

19

423-T43-1430

FILTER

SN: 11061-UP

1шт.

20

01220-40820

SCREW

SN: 11061-UP

2шт.

21

01643-30823

WASHER

SN: 11061-UP

4шт.

22

01584-00806

NUT

SN: 11061-UP

2шт.

23

08037-02512

GROMMET

SN: 11061-UP

1шт.

24

01435-01220

BOLT

SN: 11061-UP

7шт.

25

09483-00530

HOSE

SN: 11061-UP

1шт.

26

09483-00541

HOSE

SN: 10001-UP

1шт.

27

07281-00259

CLAMP

SN: 10001-UP

4шт.

28

6137-81-3221

ELBOW

SN: 10001-UP

2шт.

29

421-07-11760

CLIP

SN: 11061-UP

2шт.

30

08036-02514

CLIP

SN: 11061-UP

8шт.

31

01010-51020

BOLT

SN: 10001-UP

7шт.

32

01643-31032

WASHER

SN: 10001-UP

7шт.

33

01435-01016

BOLT

SN: 11061-UP

1шт.

34

08037-03614

GROMMET

SN: 11061-UP

1шт.

35

419-06-12930

WIRE ASS'Y

SN: 11061-UP

1шт.

36

426-T46-1160

WIRE ASS'Y

SN: 11061-UP

1шт.

36

421-06-11970

DIODE

SN: 11061-UP

2шт.

37

424-06-12720

CLIP

SN: 11061-UP

9шт.

38

01010-51020

BOLT

SN: 10001-UP

4шт.

39

01643-31032

WASHER

SN: 10001-UP

4шт.

40

01010-51016

BOLT

SN: 11061-UP

4шт.

41

01643-31032

WASHER

SN: 11061-UP

4шт.

Выбрано товаров: 43